专利数据库
统计分析
产业报告
专利数据监控
产业人才
行业动态
产业政策法规
维权援助
个人中心
详情
文本
图像
标题
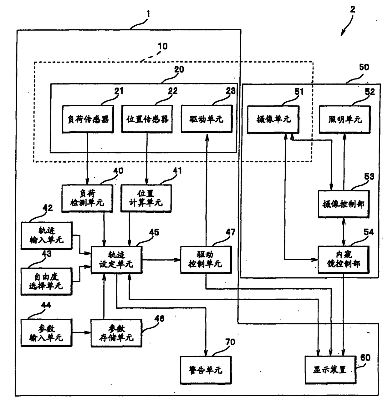
机械手装置和医疗设备系统
授权日
2011-12-14
公开(公告)号
CN101422901B
申请日
2008-10-24
公开(公告)日
2011-12-14
当前申请(专利权)人
奥林巴斯株式会社
发明人
梅本义孝 | 高桥和彦 | 野波徹绪
简单同族
CN101422901A | CN101422901B | EP2058090A2 | EP2058090A3 | EP2058090B1 | JP2009107074A | JP2009107074A5 | JP5028219B2 | US20090112316A1 | US8388605
简单同族成员数量
10
简单同族被引用专利总数
80
诉讼案件数
0
法律状态/事件
授权 | 权利转移
抱歉,您的浏览器不支持PDF预览,请点击链接下载PDF文件