专利数据库
统计分析
产业报告
专利数据监控
产业人才
行业动态
产业政策法规
维权援助
个人中心
详情
文本
图像
标题
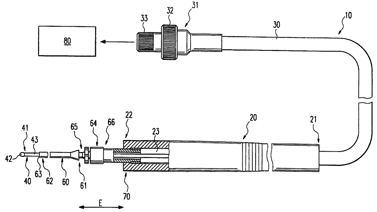
用于将组织样品与待治疗的生物组织的周围组织分离的冷冻外科器械
授权日
2012-01-04
公开(公告)号
CN101563039B
申请日
2007-12-11
公开(公告)日
2012-01-04
当前申请(专利权)人
爱尔伯电子医疗设备公司
发明人
伊琳娜·西格勒 | 马蒂亚斯·福格特伦德 | 丹尼尔·舍勒 | 马拉·希拉奇 | 克劳斯·菲舍尔
简单同族
CN101563039A | CN101563039B | DE102007020582A1 | EP2114276A1 | EP2114276B1 | JP2010512873A | JP5213873B2 | PL2114276T3 | US20100016847A1 | US8308718 | WO2008074422A1 | WO2008074422A8
简单同族成员数量
12
简单同族被引用专利总数
22
诉讼案件数
0
法律状态/事件
授权
抱歉,您的浏览器不支持PDF预览,请点击链接下载PDF文件