专利数据库
统计分析
产业报告
专利数据监控
产业人才
行业动态
产业政策法规
维权援助
个人中心
详情
文本
图像
标题
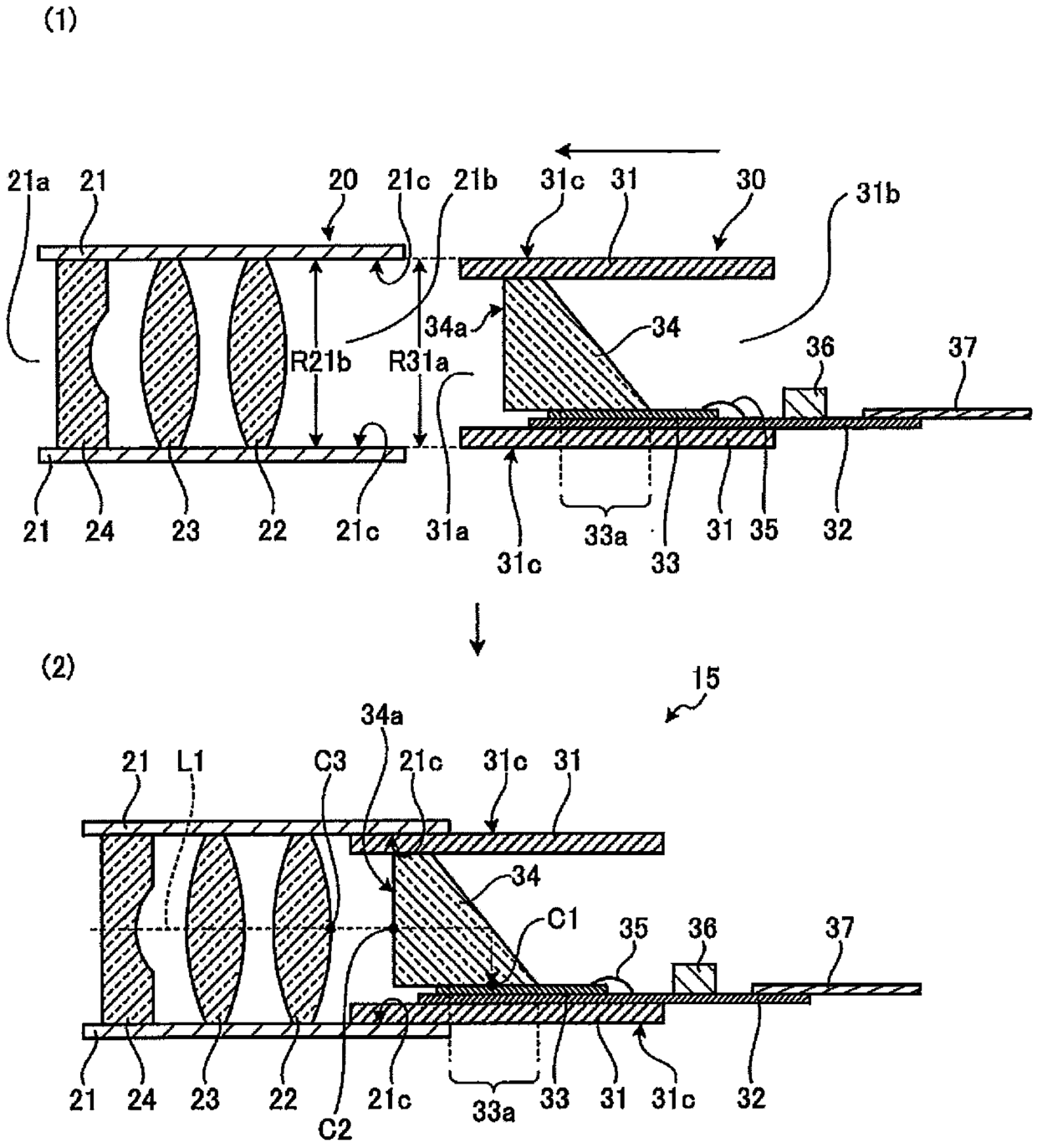
摄像模块
授权日
2015-03-11
公开(公告)号
CN102884470B
申请日
2011-05-02
公开(公告)日
2015-03-11
当前申请(专利权)人
奥林巴斯株式会社
发明人
根岸七生
简单同族
CN102884470A | CN102884470B | EP2568324A1 | EP2568324A4 | JP2011237525A | JP2011237525A5 | US20130120647A1 | US8917315 | WO2011138946A1
简单同族成员数量
9
简单同族被引用专利总数
22
诉讼案件数
0
法律状态/事件
授权
抱歉,您的浏览器不支持PDF预览,请点击链接下载PDF文件