专利数据库
统计分析
产业报告
专利数据监控
产业人才
行业动态
产业政策法规
维权援助
个人中心
详情
文本
图像
标题
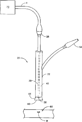
用于在手术期间闭合组织开口的补丁和胶输送系统
授权日
1900-01-01
公开(公告)号
CN1406118A
申请日
2001-02-26
公开(公告)日
2003-03-26
当前申请(专利权)人
洛马林达大学医学中心
发明人
朱永华 | 沃尔夫·M·基尔施
简单同族
AT480186T | AU2001243291A1 | CN1226019C | CN1406118A | DE60143022D1 | EP1259168A2 | EP1259168B1 | JP2003523252A | JP2003523252A5 | JP4953540B2 | US20020026159A1 | US20040010216A1 | US6589269 | US7931628 | WO2001062159A2 | WO2001062159A3
简单同族成员数量
16
简单同族被引用专利总数
194
诉讼案件数
0
法律状态/事件
未缴年费
抱歉,您的浏览器不支持PDF预览,请点击链接下载PDF文件