专利数据库
统计分析
产业报告
专利数据监控
产业人才
行业动态
产业政策法规
维权援助
个人中心
详情
文本
图像
标题
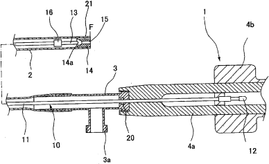
高频处置器械
授权日
2009-03-18
公开(公告)号
CN100469332C
申请日
2006-05-22
公开(公告)日
2009-03-18
当前申请(专利权)人
丰永高史 | 富士胶片株式会社
发明人
丰永高史 | 大谷津昌行 | 町屋守
简单同族
AT499892T | AT500791T | CN100469332C | CN101332118A | CN101332118B | CN101332119A | CN101332119B | CN1868417A | DE602006007755D1 | DE602006020498D1 | DE602006020632D1 | EP1726266A1 | EP1726266B1 | EP1985252A1 | EP1985252B1 | EP1987795A1 | EP1987795B1 | JP2006325785A | JP4836492B2 | KR1020060121732A | KR1020080072794A | KR1020080072795A | US20060270969A1
简单同族成员数量
23
简单同族被引用专利总数
30
诉讼案件数
0
法律状态/事件
授权 | 权利转移
抱歉,您的浏览器不支持PDF预览,请点击链接下载PDF文件