专利数据库
统计分析
产业报告
专利数据监控
产业人才
行业动态
产业政策法规
维权援助
个人中心
详情
文本
图像
标题
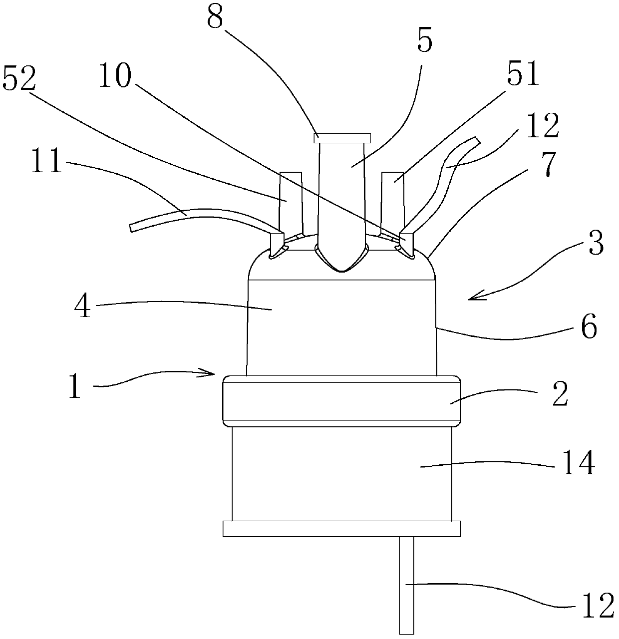
腔镜手术单孔多通道路入装置
授权日
2019-09-03
公开(公告)号
CN209332126U
申请日
2017-09-21
公开(公告)日
2019-09-03
当前申请(专利权)人
杭州康基医疗器械有限公司
发明人
关小明 | 刘娟 | 关振堃 | 岳计强 | 杜荷军
简单同族
CN209332126U
简单同族成员数量
1
简单同族被引用专利总数
0
诉讼案件数
0
法律状态/事件
授权
抱歉,您的浏览器不支持PDF预览,请点击链接下载PDF文件