专利数据库
统计分析
产业报告
专利数据监控
产业人才
行业动态
产业政策法规
维权援助
个人中心
详情
文本
图像
标题
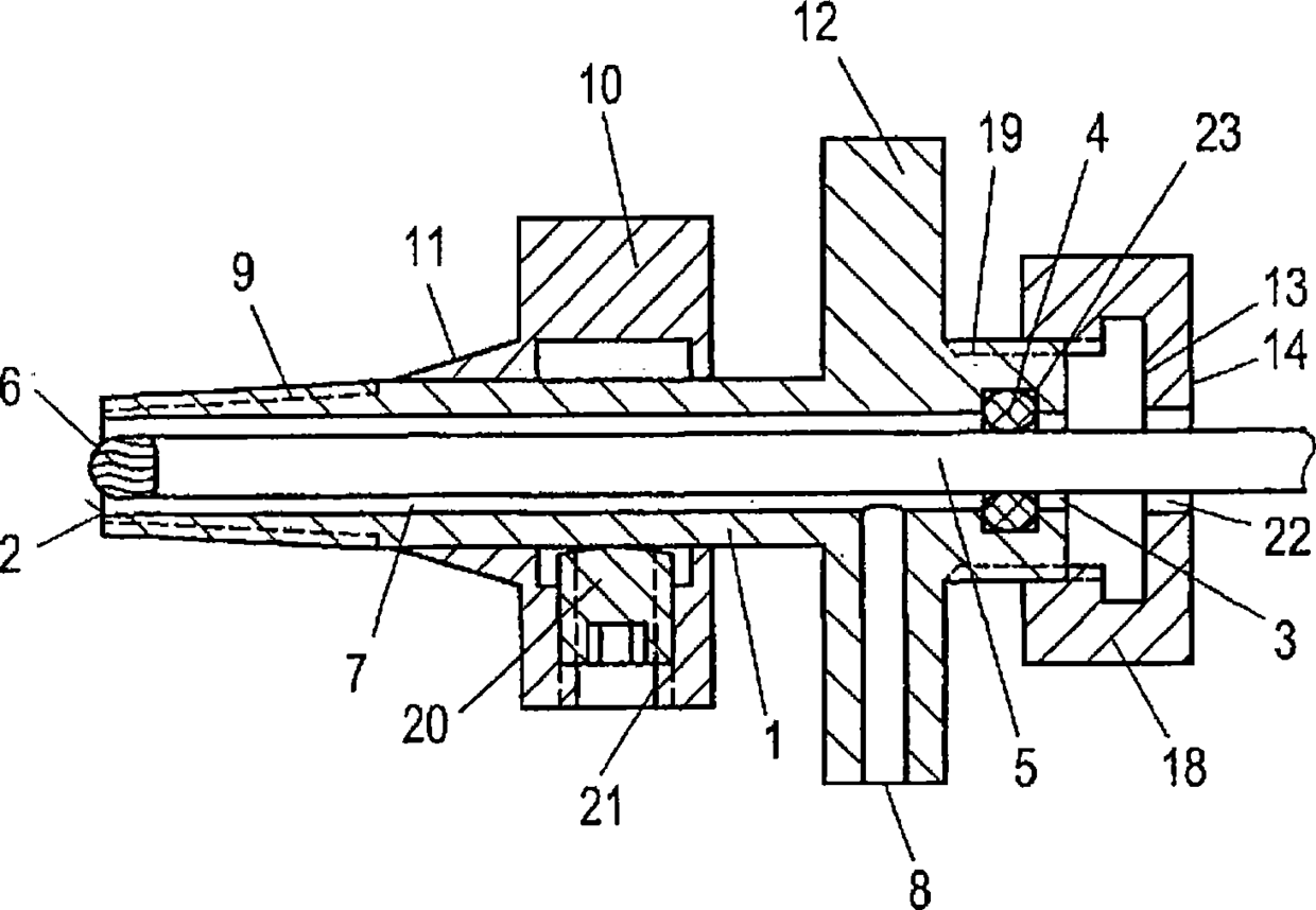
用于引入骨孔的铣削装置
授权日
2015-08-12
公开(公告)号
CN102202596B
申请日
2009-10-20
公开(公告)日
2015-08-12
当前申请(专利权)人
杰德有限责任公司
发明人
K·埃德
简单同族
AU2009310607A1 | AU2009310607B2 | BRPI0920526A2 | BRPI0920526B1 | CA2774424A1 | CA2774424C | CN102202596A | CN102202596B | EP2367498A1 | EP2367498B1 | ES2429515T3 | HK1162907A | HK1162907A1 | IL212581A | IL212581D0 | JP2012509092A | JP2012509092A6 | JP6062631B2 | KR101657941B1 | KR1020110094018A | PL2367498T3 | RU2011121642A | RU2506922C2 | US20110270236A1 | US9615841 | WO2010048648A1 | ZA201103341B
简单同族成员数量
27
简单同族被引用专利总数
28
诉讼案件数
0
法律状态/事件
授权
抱歉,您的浏览器不支持PDF预览,请点击链接下载PDF文件