专利数据库
统计分析
产业报告
专利数据监控
产业人才
行业动态
产业政策法规
维权援助
个人中心
详情
文本
图像
标题
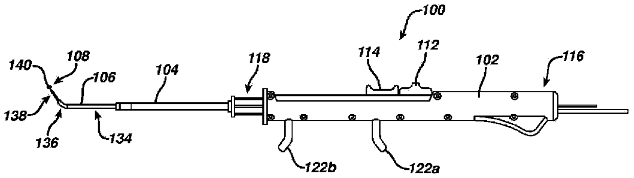
用于治疗鼻窦疾病的设备
授权日
2016-06-22
公开(公告)号
CN103118584B
申请日
2011-08-31
公开(公告)日
2016-06-22
当前申请(专利权)人
阿克拉伦特公司
发明人
E.A.戈德法布 | M.W.B.仇 | J.W.怀特 | J.Y.常 | M.Y.帕德 | J.M.利贝拉托尔 | R.坦蒂西拉 | S.S.罗 | J.马考尔 | H.沃 | I.M.冈迪安科 | M.J.戈特斯曼
简单同族
AU2011305901A1 | AU2011305901B2 | CA2811717A1 | CN103118584A | CN103118584B | EP2618719A1 | EP2618719B1 | ES2648141T3 | JP2013540502A | JP5844374B2 | KR101843342B1 | KR1020130099106A | MX2013003290A | MX335838B | RU2013118200A | RU2538235C2 | US20120071857A1 | US20180296236A1 | WO2012039906A1
简单同族成员数量
19
简单同族被引用专利总数
105
诉讼案件数
0
法律状态/事件
授权
抱歉,您的浏览器不支持PDF预览,请点击链接下载PDF文件