专利数据库
统计分析
产业报告
专利数据监控
产业人才
行业动态
产业政策法规
维权援助
个人中心
详情
文本
图像
标题
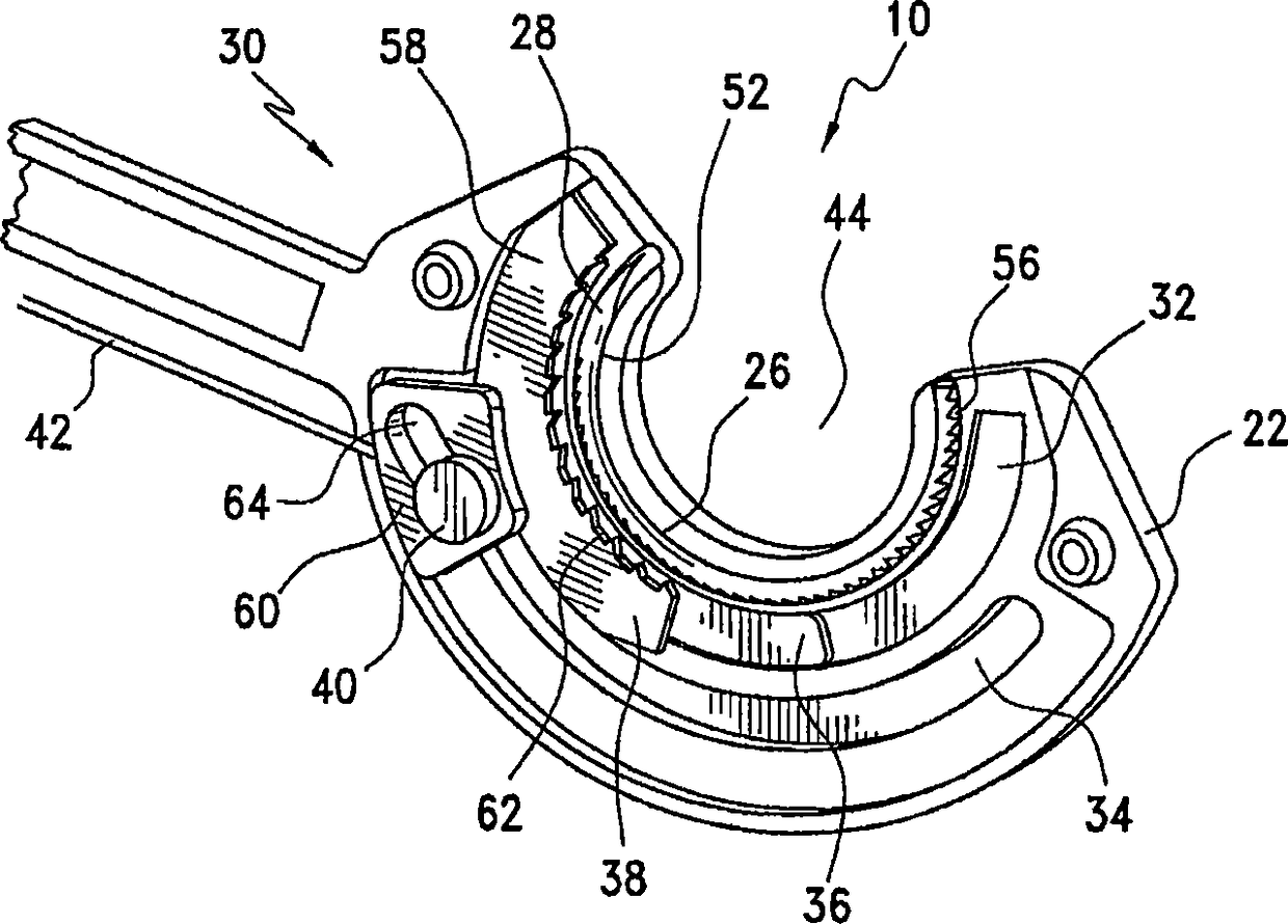
外科缝合器械
授权日
2013-05-08
公开(公告)号
CN101044996B
申请日
2007-04-02
公开(公告)日
2013-05-08
当前申请(专利权)人
伊西康内外科公司
发明人
M·J·斯托克斯 | F·E·谢尔顿四世 | M·S·奥尔蒂斯
简单同族
AT538729T | AU2007201314A1 | AU2007201314B2 | BRPI0704530A | BRPI0704530A2 | CA2582876A1 | CN101044996A | CN101044996B | EP1839592A1 | EP1839592B1 | HK1108610A | HK1108610A1 | JP2007313296A | JP5154127B2 | MX2007003976A | MX292911B | US20060282094A1 | US7766925
简单同族成员数量
18
简单同族被引用专利总数
160
诉讼案件数
0
法律状态/事件
未缴年费
抱歉,您的浏览器不支持PDF预览,请点击链接下载PDF文件