专利数据库
统计分析
产业报告
专利数据监控
产业人才
行业动态
产业政策法规
维权援助
个人中心
详情
文本
图像
标题
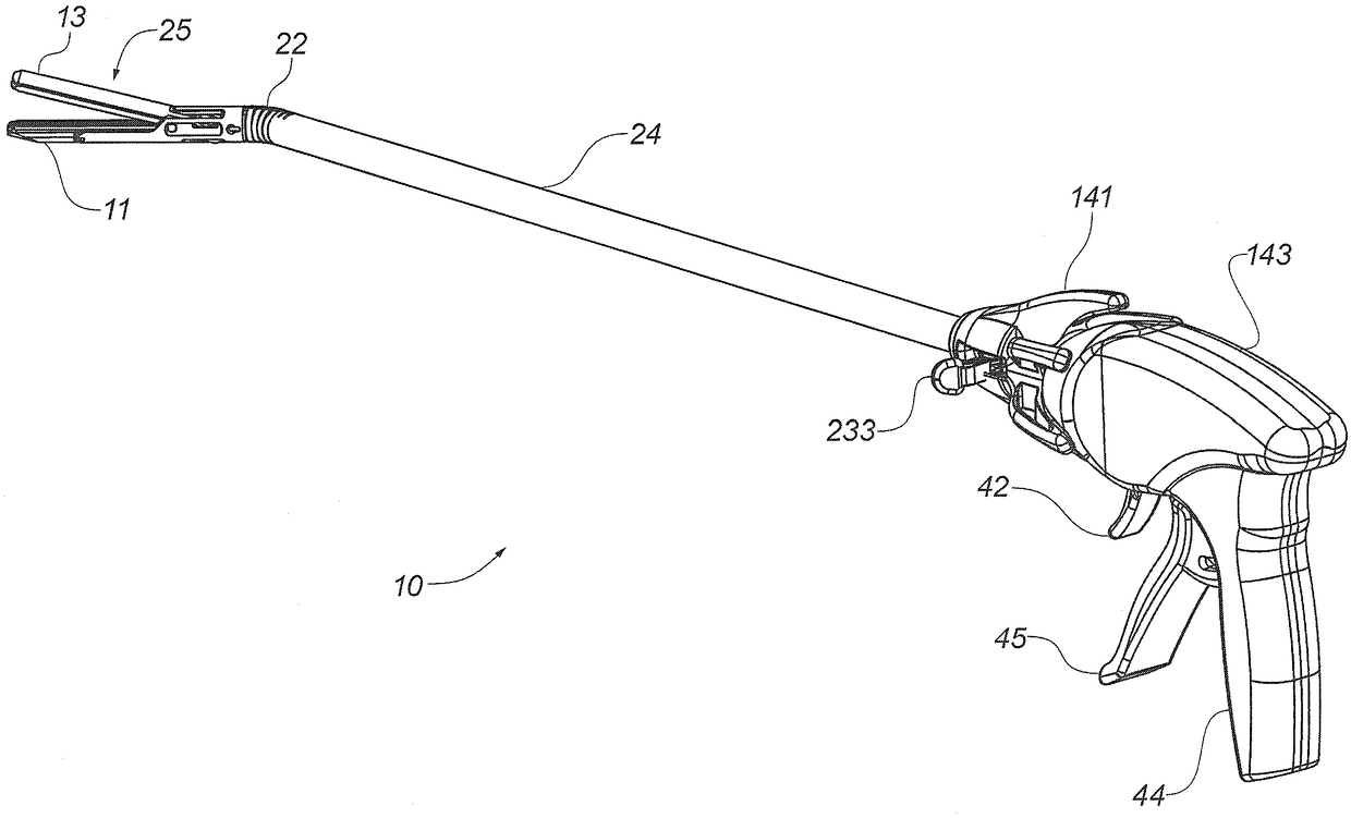
具有可稳定铰接致动器的可铰接的电外科器械
授权日
1900-01-01
公开(公告)号
CN103429184A
申请日
2012-03-14
公开(公告)日
2013-12-04
当前申请(专利权)人
蛇牌股份公司
发明人
劳伦斯·科夫 | 埃瑞克·瓦尔伯格 | 布赖恩·唐 | 布兰登·劳德米尔克
简单同族
AU2012230520A1 | CA2828927A1 | CN103429184A | CN103429184B | EP2688501A1 | EP2688501B1 | ES2550666T3 | JP2014515652A | JP2014515652A5 | JP5864716B2 | KR101561366B1 | KR1020140022844A | MX2013010732A | RU2013147153A | US20110230875A1 | US8870867 | WO2012126783A1
简单同族成员数量
17
简单同族被引用专利总数
121
诉讼案件数
0
法律状态/事件
授权
抱歉,您的浏览器不支持PDF预览,请点击链接下载PDF文件