专利数据库
统计分析
产业报告
专利数据监控
产业人才
行业动态
产业政策法规
维权援助
个人中心
详情
文本
图像
标题
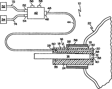
用于清洁医疗观察镜的镜远端的装置
授权日
1900-01-01
公开(公告)号
CN101156768A
申请日
2007-10-08
公开(公告)日
2008-04-09
当前申请(专利权)人
伊西康内外科公司
发明人
W·B·韦森伯格二世 | R·P·吉尔 | C·J·赫斯 | J·F·卡明斯
简单同族
AU2007219275A1 | CA2605261A1 | CN101156768A | EP1911392A2 | EP1911392A3 | US20080081948A1
简单同族成员数量
6
简单同族被引用专利总数
82
诉讼案件数
0
法律状态/事件
撤回
抱歉,您的浏览器不支持PDF预览,请点击链接下载PDF文件