专利数据库
统计分析
产业报告
专利数据监控
产业人才
行业动态
产业政策法规
维权援助
个人中心
详情
文本
图像
标题
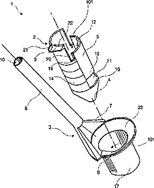
肛门镜
授权日
1900-01-01
公开(公告)号
CN101355903A
申请日
2007-03-06
公开(公告)日
2009-01-28
当前申请(专利权)人
阿里·多甘·博兹达格
发明人
阿里·多甘·博兹达格
简单同族
AT437602T | CN101355903A | CN101355903B | DE602007001802D1 | EP2004035A1 | EP2004035B1 | JP2009522036A | JP5329232B2 | US20090005647A1 | US8430814 | WO2007116327A1
简单同族成员数量
11
简单同族被引用专利总数
37
诉讼案件数
0
法律状态/事件
未缴年费
抱歉,您的浏览器不支持PDF预览,请点击链接下载PDF文件