专利数据库
统计分析
产业报告
专利数据监控
产业人才
行业动态
产业政策法规
维权援助
个人中心
详情
文本
图像
标题
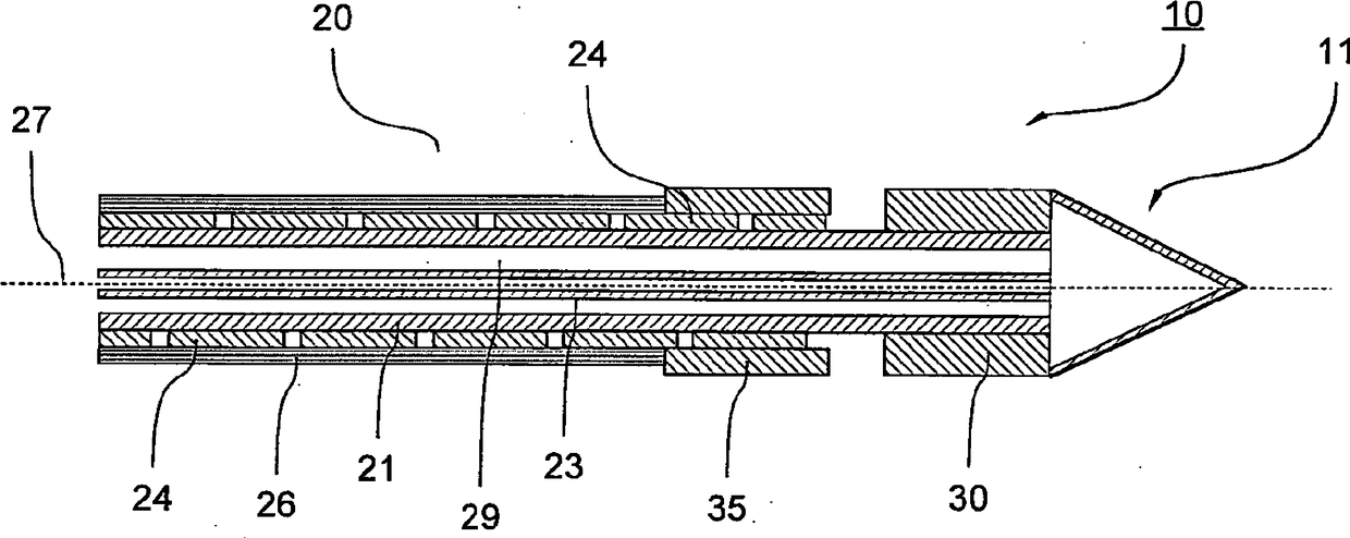
电手术仪器和用于制造电手术仪器的方法
授权日
2015-06-24
公开(公告)号
CN102481168B
申请日
2010-06-16
公开(公告)日
2015-06-24
当前申请(专利权)人
厄比电子医学有限责任公司
发明人
B. 施瓦恩 | H. B. 贝斯奇
简单同族
CN102481168A | CN102481168B | DE102009048312A1 | DE102009048312B4 | EP2451374A1 | EP2451374B1 | EP2649958A1 | EP2649958B1 | JP2012531984A | JP5481556B2 | PL2451374T3 | PL2649958T3 | US20120130364A1 | US8998895 | WO2011003503A1 | WO2011003503A8
简单同族成员数量
16
简单同族被引用专利总数
22
诉讼案件数
0
法律状态/事件
授权
抱歉,您的浏览器不支持PDF预览,请点击链接下载PDF文件