专利数据库
统计分析
产业报告
专利数据监控
产业人才
行业动态
产业政策法规
维权援助
个人中心
详情
文本
图像
标题
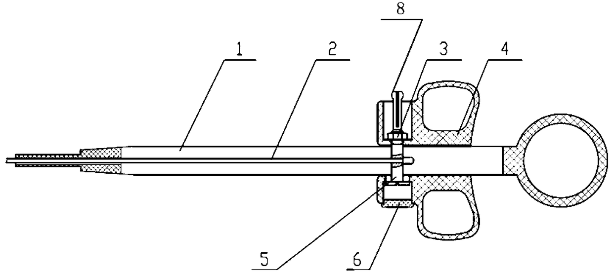
一种内镜用高频电极手柄
授权日
2013-07-31
公开(公告)号
CN203089366U
申请日
2013-01-29
公开(公告)日
2013-07-31
当前申请(专利权)人
上海威尔逊光电仪器有限公司
发明人
童文锦 | 黄新
简单同族
CN203089366U
简单同族成员数量
1
简单同族被引用专利总数
0
诉讼案件数
0
法律状态/事件
授权
抱歉,您的浏览器不支持PDF预览,请点击链接下载PDF文件