专利数据库
统计分析
产业报告
专利数据监控
产业人才
行业动态
产业政策法规
维权援助
个人中心
详情
文本
图像
标题
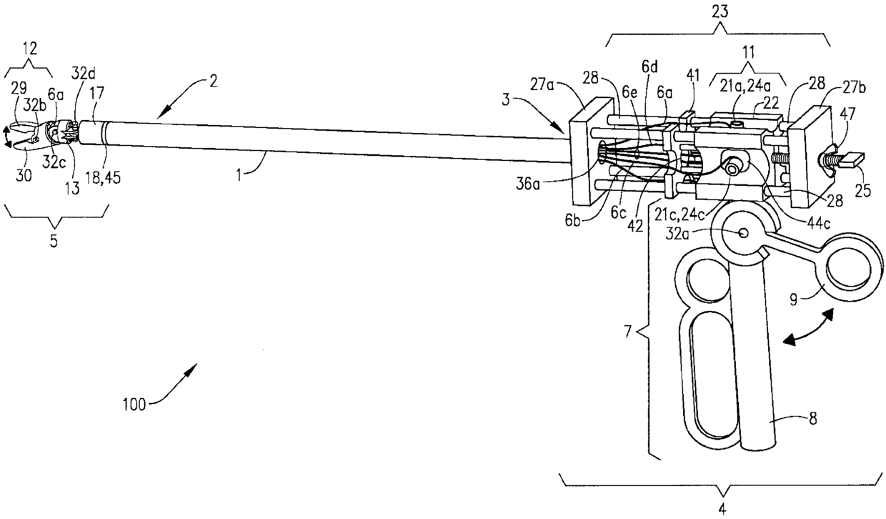
手术器械
授权日
2016-05-04
公开(公告)号
CN103079482B
申请日
2011-03-03
公开(公告)日
2016-05-04
当前申请(专利权)人
巴塞尔·S·哈桑
发明人
巴塞尔·S·哈桑
简单同族
AU2011223525A1 | AU2011223525B2 | BR112012022242A2 | CA2791780A1 | CA2791780C | CN103079482A | CN103079482B | EP2542163A1 | EP2542163A4 | EP2542163B1 | MX2012009982A | MX340380B | US20120316560A1 | US20160256146A1 | US9339287 | WO2011109640A1
简单同族成员数量
16
简单同族被引用专利总数
20
诉讼案件数
0
法律状态/事件
未缴年费
抱歉,您的浏览器不支持PDF预览,请点击链接下载PDF文件