专利数据库
统计分析
产业报告
专利数据监控
产业人才
行业动态
产业政策法规
维权援助
个人中心
详情
文本
图像
标题
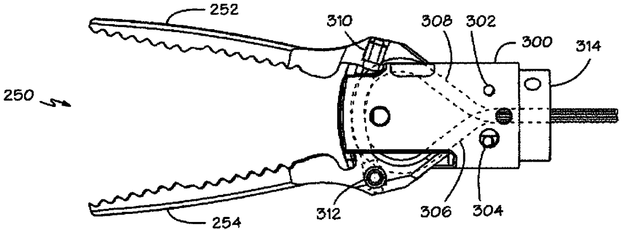
直接牵引手术夹持器
授权日
2015-06-24
公开(公告)号
CN102791218B
申请日
2011-01-26
公开(公告)日
2015-06-24
当前申请(专利权)人
直观外科手术操作公司
发明人
T·G·库珀
简单同族
BR112012019521A2 | CN102791218A | CN102791218B | EP2470106A1 | EP2470106B1 | EP3181069A1 | JP2013518665A | JP5873028B2 | KR101768008B1 | KR1020130008006A | US10512481 | US20110196419A1 | US20160256183A1 | US20200121343A1 | US9339341 | WO2011097095A1
简单同族成员数量
16
简单同族被引用专利总数
95
诉讼案件数
0
法律状态/事件
授权
抱歉,您的浏览器不支持PDF预览,请点击链接下载PDF文件