专利数据库
统计分析
产业报告
专利数据监控
产业人才
行业动态
产业政策法规
维权援助
个人中心
详情
文本
图像
标题
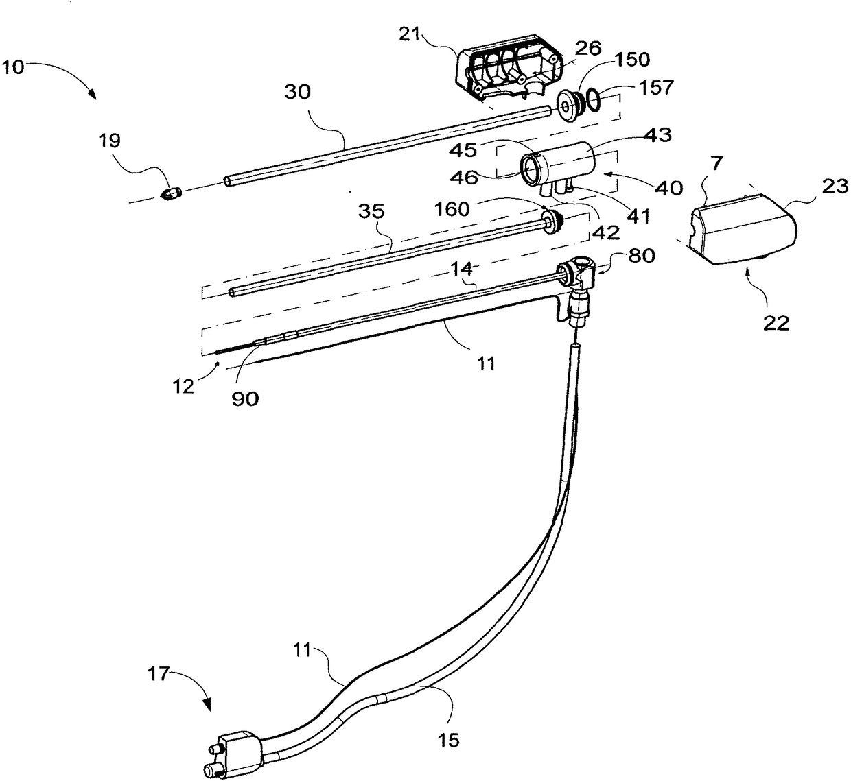
微波能量递送设备与系统
授权日
2018-02-02
公开(公告)号
CN104042339B
申请日
2014-03-14
公开(公告)日
2018-02-02
当前申请(专利权)人
柯惠有限合伙公司
发明人
J·D·布兰南 | C·M·拉德特寇 | D·R·彼得森 | E·W·拉森 | W·J·迪克汉斯 | R·A·维尔亚德 | J·A·卡塞
简单同族
AU2014201395A1 | AU2014201395B2 | AU2018236735A1 | AU2018236735B2 | CA2845747A1 | CA2845747C | CN104042339A | CN104042339B | CN204207843U | CN204734545U | EP2777591A1 | EP2777591B1 | EP3192468A1 | EP3192468B1 | JP2014180550A | JP2014180550A5 | JP6437728B2 | US10016236 | US10105181 | US10363098 | US20140276033A1 | US20160192987A1 | US20170189115A1 | US20190038352A1 | US9301723
简单同族成员数量
25
简单同族被引用专利总数
86
诉讼案件数
0
法律状态/事件
授权
抱歉,您的浏览器不支持PDF预览,请点击链接下载PDF文件