专利数据库
统计分析
产业报告
专利数据监控
产业人才
行业动态
产业政策法规
维权援助
个人中心
详情
文本
图像
标题
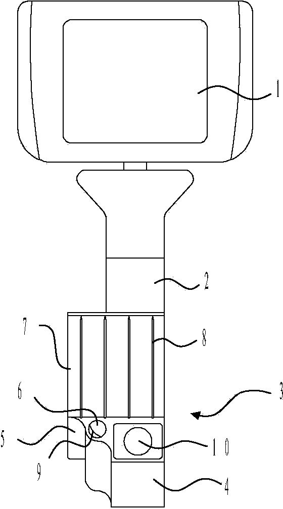
一种导丝定向喉镜装置
授权日
2015-05-20
公开(公告)号
CN204336878U
申请日
2014-12-18
公开(公告)日
2015-05-20
当前申请(专利权)人
南京市妇幼保健院
发明人
王伟 | 徐世琴 | 沈洁
简单同族
CN204336878U
简单同族成员数量
1
简单同族被引用专利总数
0
诉讼案件数
0
法律状态/事件
未缴年费
抱歉,您的浏览器不支持PDF预览,请点击链接下载PDF文件