专利数据库
统计分析
产业报告
专利数据监控
产业人才
行业动态
产业政策法规
维权援助
个人中心
详情
文本
图像
标题
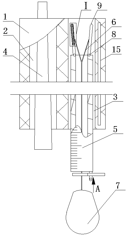
带牵拉装置的内镜手术刀
授权日
2020-03-20
公开(公告)号
CN210158671U
申请日
2019-03-22
公开(公告)日
2020-03-20
当前申请(专利权)人
李娟
发明人
李娟 | 李大欢 | 许良璧
简单同族
CN210158671U
简单同族成员数量
1
简单同族被引用专利总数
0
诉讼案件数
0
法律状态/事件
授权
抱歉,您的浏览器不支持PDF预览,请点击链接下载PDF文件