专利数据库
统计分析
产业报告
专利数据监控
产业人才
行业动态
产业政策法规
维权援助
个人中心
详情
文本
图像
标题
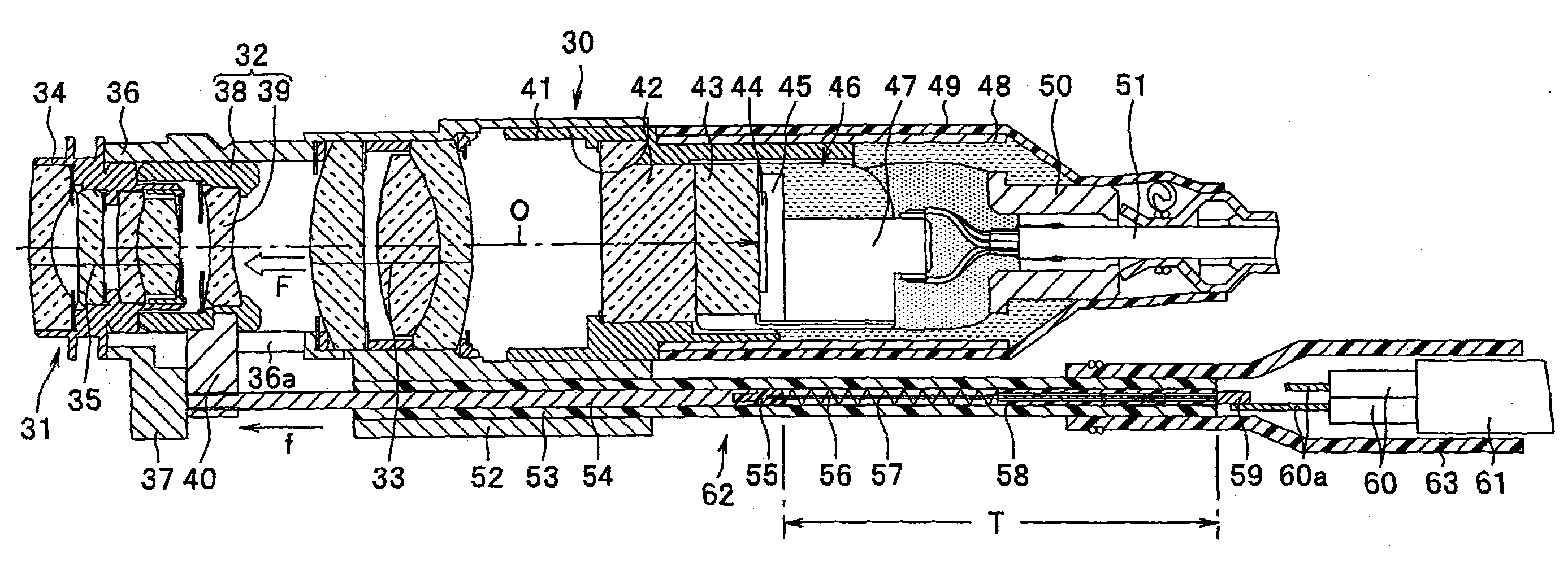
透镜单元
授权日
1900-01-01
公开(公告)号
CN101926639A
申请日
2008-12-17
公开(公告)日
2010-12-29
当前申请(专利权)人
奥林巴斯株式会社
发明人
酒井诚二 | 山下知晓 | 河内昌宏 | 三谷贵彦 | 石田雄也 | 岩崎诚二
简单同族
CN101926639A | CN101926639B | EP2072001A2 | EP2072001A3 | EP2072001B1 | EP2394566A2 | EP2394566A3 | EP2394566B1 | US20090185032A1 | US8427533
简单同族成员数量
10
简单同族被引用专利总数
38
诉讼案件数
0
法律状态/事件
授权 | 权利转移
抱歉,您的浏览器不支持PDF预览,请点击链接下载PDF文件