专利数据库
统计分析
产业报告
专利数据监控
产业人才
行业动态
产业政策法规
维权援助
个人中心
详情
文本
图像
标题
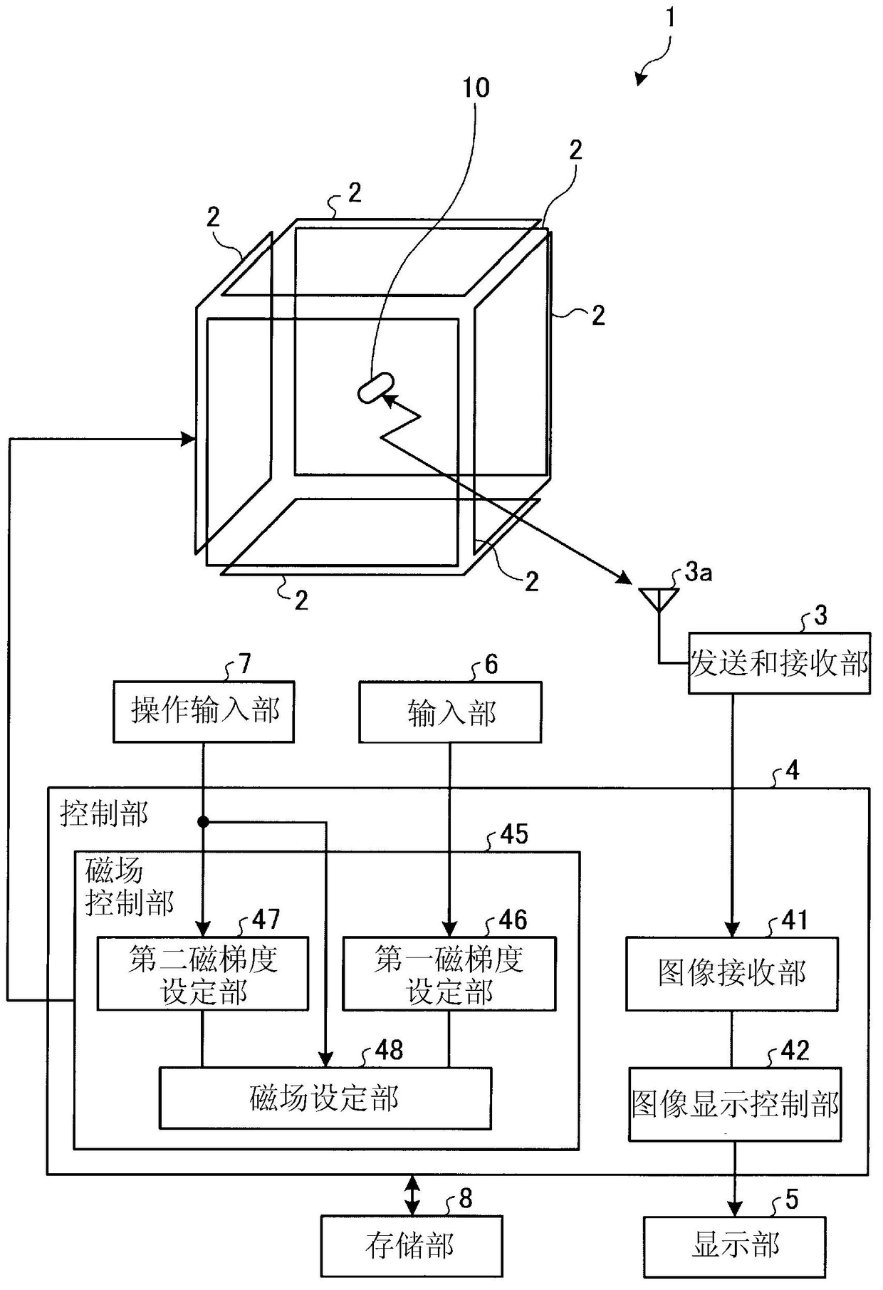
胶囊型医疗装置用引导系统以及胶囊型医疗装置的引导方法
授权日
1900-01-01
公开(公告)号
CN102665530A
申请日
2011-01-28
公开(公告)日
2012-09-12
当前申请(专利权)人
奥林巴斯株式会社
发明人
河野宏尚
简单同族
CN102665530A | CN102665530B | EP2481337A1 | EP2481337A4 | EP2481337B1 | JP4932971B2 | JPWO2011118253A1 | US20120095290A1 | WO2011118253A1
简单同族成员数量
9
简单同族被引用专利总数
30
诉讼案件数
0
法律状态/事件
授权 | 权利转移
抱歉,您的浏览器不支持PDF预览,请点击链接下载PDF文件