专利数据库
统计分析
产业报告
专利数据监控
产业人才
行业动态
产业政策法规
维权援助
个人中心
详情
文本
图像
标题
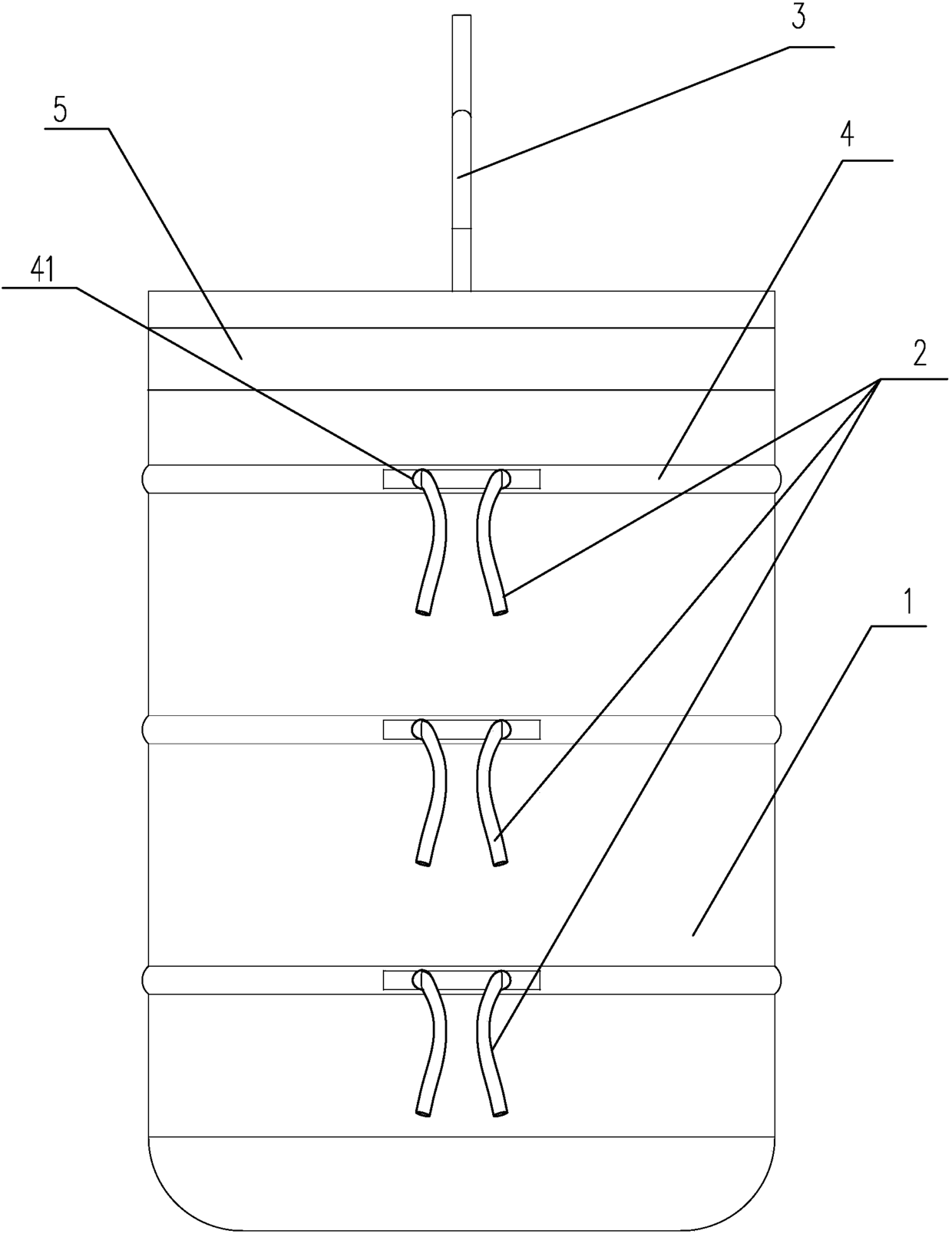
阑尾取出袋
授权日
2017-12-29
公开(公告)号
CN206809341U
申请日
2017-01-10
公开(公告)日
2017-12-29
当前申请(专利权)人
温州市人民医院
发明人
金一帮 | 陈璐 | 徐智峰 | 杨章威 | 潘江华
简单同族
CN206809341U
简单同族成员数量
1
简单同族被引用专利总数
0
诉讼案件数
0
法律状态/事件
授权
抱歉,您的浏览器不支持PDF预览,请点击链接下载PDF文件