专利数据库
统计分析
产业报告
专利数据监控
产业人才
行业动态
产业政策法规
维权援助
个人中心
详情
文本
图像
标题
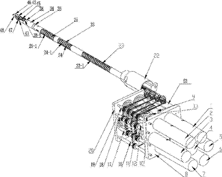
用于单孔腹腔微创手术的多自由度柔性机器人
授权日
2017-01-11
公开(公告)号
CN104758060B
申请日
2015-04-07
公开(公告)日
2017-01-11
当前申请(专利权)人
哈尔滨工业大学
发明人
杜志江 | 杨文龙 | 董为
简单同族
CN104758060A | CN104758060B
简单同族成员数量
2
简单同族被引用专利总数
22
诉讼案件数
0
法律状态/事件
授权
抱歉,您的浏览器不支持PDF预览,请点击链接下载PDF文件