专利数据库
统计分析
产业报告
专利数据监控
产业人才
行业动态
产业政策法规
维权援助
个人中心
详情
文本
图像
标题
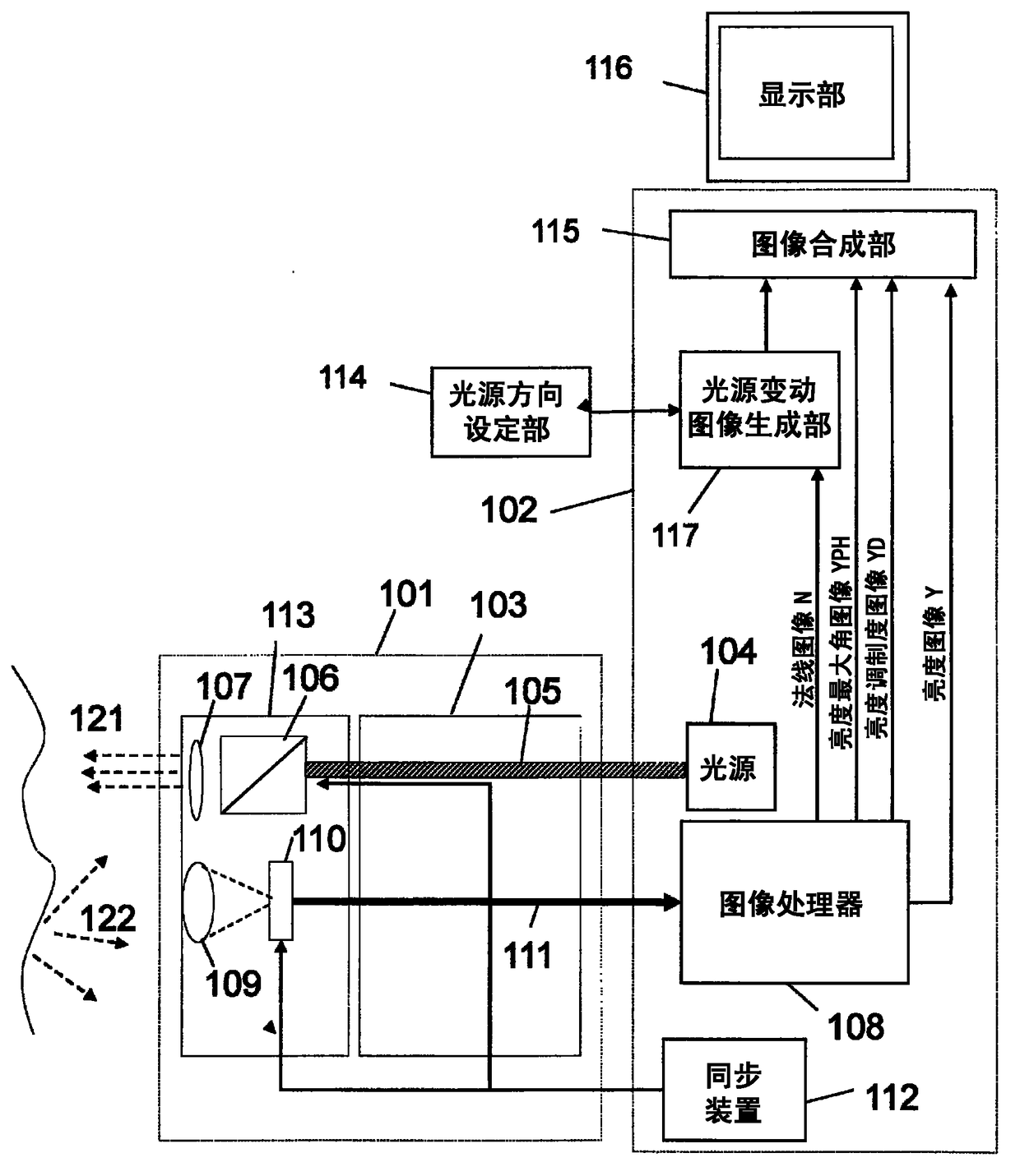
图像处理装置
授权日
2015-06-10
公开(公告)号
CN103037751B
申请日
2011-09-20
公开(公告)日
2015-06-10
当前申请(专利权)人
松下电器产业株式会社
发明人
金森克洋
简单同族
CN103037751A | CN103037751B | JP5238098B2 | JPWO2012073414A1 | US20120307028A1 | US8648907 | WO2012073414A1
简单同族成员数量
7
简单同族被引用专利总数
21
诉讼案件数
0
法律状态/事件
授权
抱歉,您的浏览器不支持PDF预览,请点击链接下载PDF文件