专利数据库
统计分析
产业报告
专利数据监控
产业人才
行业动态
产业政策法规
维权援助
个人中心
详情
文本
图像
标题
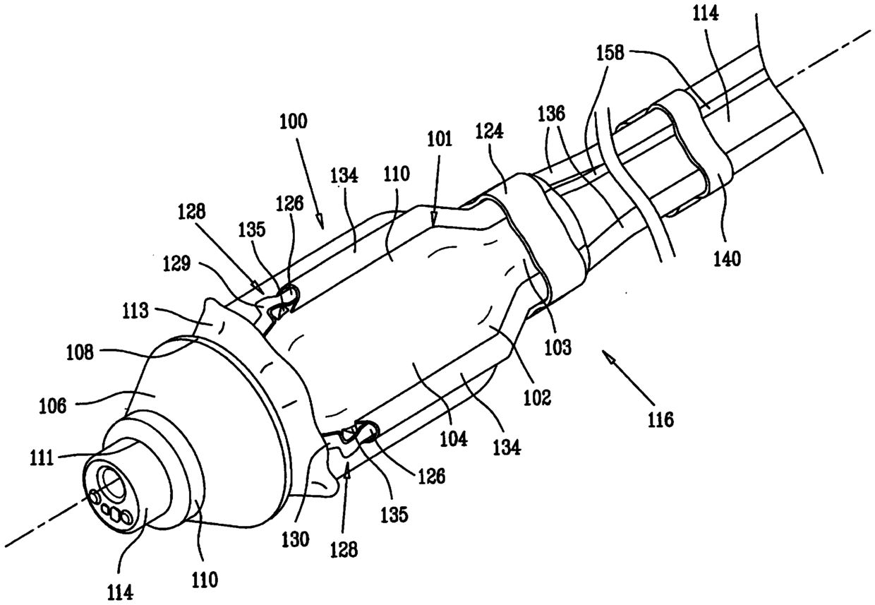
用于管状体部的衬垫以及用于施加衬垫的设备和方法
授权日
1900-01-01
公开(公告)号
CN105708511A
申请日
2009-08-11
公开(公告)日
2016-06-29
当前申请(专利权)人
拜纳瑞克斯医学有限公司
发明人
G·特柳克
简单同族
CN102186436A | CN102186436B | CN105708511A | EP2320980A2 | EP2320980A4 | US20110137428A1 | US20140371870A1 | US8828090 | WO2010018571A2 | WO2010018571A3
简单同族成员数量
10
简单同族被引用专利总数
27
诉讼案件数
0
法律状态/事件
撤回
抱歉,您的浏览器不支持PDF预览,请点击链接下载PDF文件