专利数据库
统计分析
产业报告
专利数据监控
产业人才
行业动态
产业政策法规
维权援助
个人中心
详情
文本
图像
标题
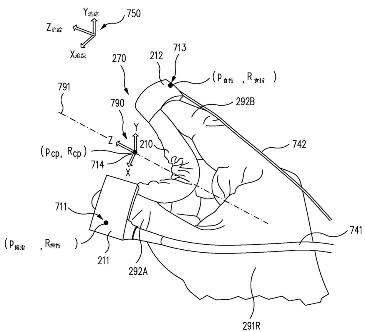
用于遥控操作的微创从手术器械的手控制的方法和系统
授权日
1900-01-01
公开(公告)号
CN102596085A
申请日
2010-11-11
公开(公告)日
2012-07-18
当前申请(专利权)人
直观外科手术操作公司
发明人
B・D・伊特科维兹 | S・蒂迈欧 | T・赵 | K・Y・巴克
简单同族
BR112012011321A2 | CN102596085A | CN102596085B | CN104856764A | CN104856764B | EP2480157A1 | EP2480157B1 | EP3097883A1 | JP2013510672A | JP5702797B2 | KR101789064B1 | KR1020120115487A | US20110118752A1 | US8682489 | WO2011060171A1
简单同族成员数量
15
简单同族被引用专利总数
109
诉讼案件数
0
法律状态/事件
授权
抱歉,您的浏览器不支持PDF预览,请点击链接下载PDF文件