专利数据库
统计分析
产业报告
专利数据监控
产业人才
行业动态
产业政策法规
维权援助
个人中心
详情
文本
图像
标题
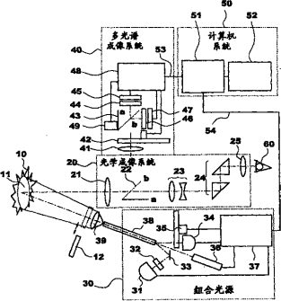
用于光动力治疗和摄影检测的装置
授权日
1900-01-01
公开(公告)号
CN101744611A
申请日
2009-11-17
公开(公告)日
2010-06-23
当前申请(专利权)人
韩国电气研究院
发明人
姜旭 | G·V·帕帕彦
简单同族
CN101744611A | CN101744611B | GB0911889D0 | GB2466089A | GB2466089B | KR101061004B1 | KR1020100066605A | US20100145416A1 | US8382812
简单同族成员数量
9
简单同族被引用专利总数
78
诉讼案件数
0
法律状态/事件
授权
抱歉,您的浏览器不支持PDF预览,请点击链接下载PDF文件