专利数据库
统计分析
产业报告
专利数据监控
产业人才
行业动态
产业政策法规
维权援助
个人中心
详情
文本
图像
标题
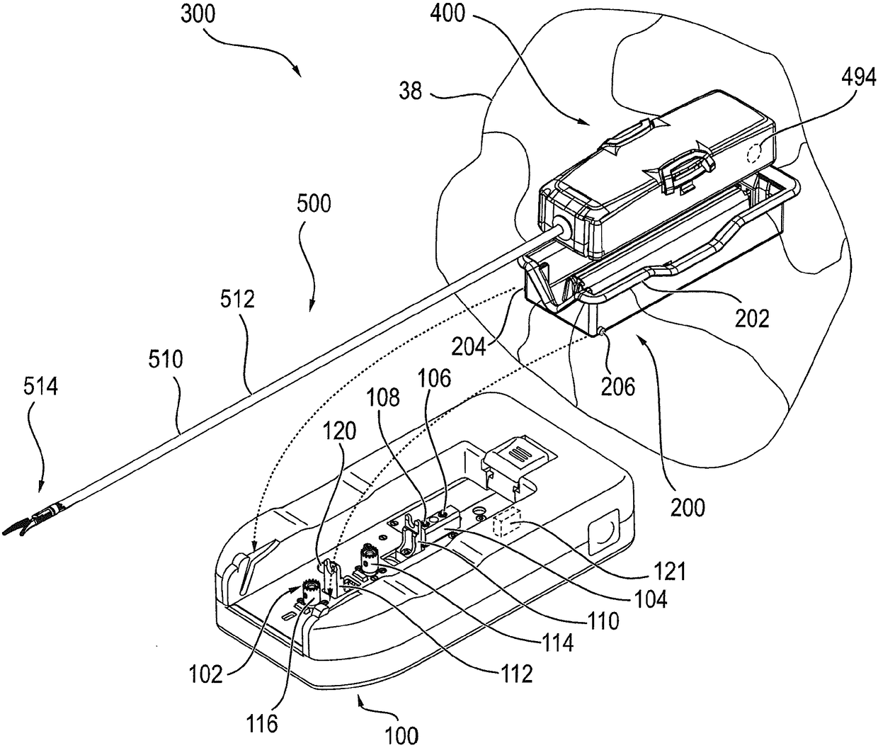
用于机器人辅助外科手术的设备
授权日
1900-01-01
公开(公告)号
CN107072733A
申请日
2015-11-17
公开(公告)日
2017-08-18
当前申请(专利权)人
阿瓦特拉医药有限公司
发明人
M·布朗 | S·巴伯 | M·希伯
简单同族
BR112017010278A2 | CA2963326A1 | CN107072733A | CN107072733B | DE102014117407A1 | EP3223738A1 | HK1238514A | JP2018500070A | JP6652775B2 | RU2017122268A | RU2017122268A3 | RU2704961C2 | US20170348063A1 | WO2016083189A1 | ZA201700657B
简单同族成员数量
15
简单同族被引用专利总数
22
诉讼案件数
0
法律状态/事件
授权
抱歉,您的浏览器不支持PDF预览,请点击链接下载PDF文件