专利数据库
统计分析
产业报告
专利数据监控
产业人才
行业动态
产业政策法规
维权援助
个人中心
详情
文本
图像
标题
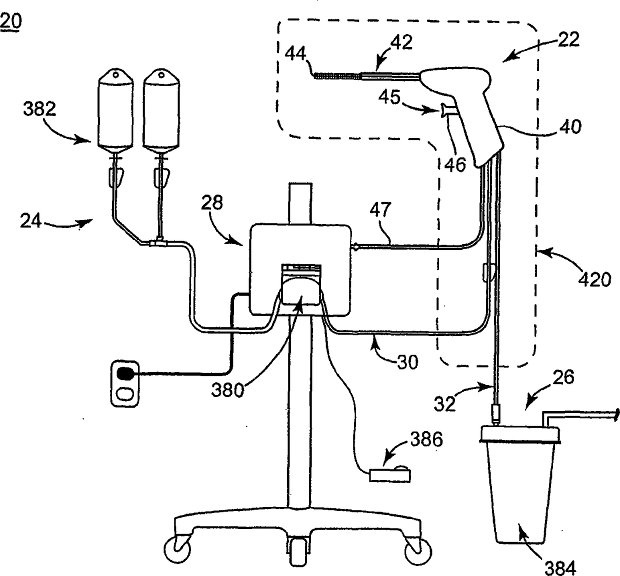
用于除去生物膜的外科器械、系统以及方法
授权日
2014-08-13
公开(公告)号
CN101677749B
申请日
2008-04-01
公开(公告)日
2014-08-13
当前申请(专利权)人
麦德托尼克艾克斯欧麦德股份有限公司
发明人
D·E·斯兰科尔 | J·R·普力斯科 | C·O·莱威斯 | G·W·诺曼 | R·K·瓦卡洛 | I·C·佩里
简单同族
AU2008237473A1 | AU2008237473B2 | CA2682893A1 | CA2682893C | CN101677749A | CN101677749B | EP2142069A1 | EP2142069A4 | EP2142069B1 | ES2437119T3 | KR101477830B1 | KR1020100016312A | US20080249483A1 | US9326665 | WO2008124376A1
简单同族成员数量
15
简单同族被引用专利总数
65
诉讼案件数
0
法律状态/事件
授权
抱歉,您的浏览器不支持PDF预览,请点击链接下载PDF文件