专利数据库
统计分析
产业报告
专利数据监控
产业人才
行业动态
产业政策法规
维权援助
个人中心
详情
文本
图像
标题
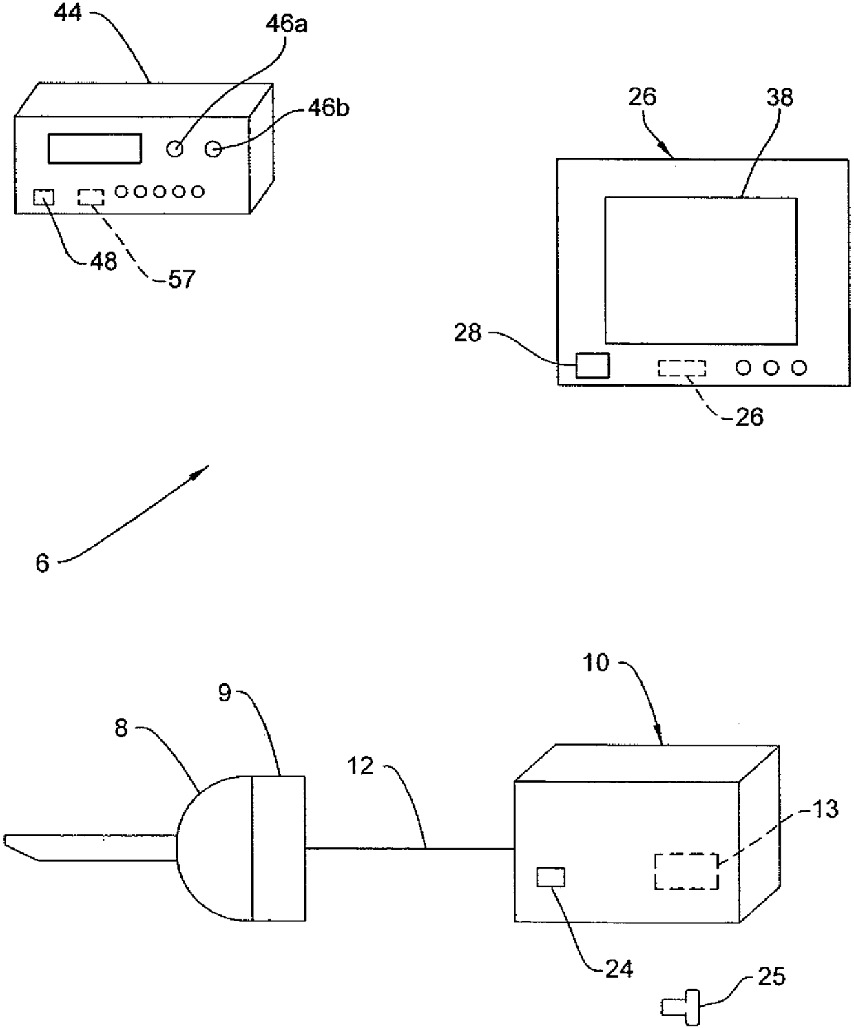
无线手术室通信系统
授权日
1900-01-01
公开(公告)号
CN103957350A
申请日
2009-10-30
公开(公告)日
2014-07-30
当前申请(专利权)人
斯特赖克公司
发明人
V.纳姆巴坎 | J.沈 | J.塔尔伯特 | A.马哈迪克
简单同族
AU2009318123A1 | AU2009318123B2 | CA2741732A1 | CA2741732C | CN102224732A | CN102224732B | CN103957350A | CN103957350B | EP2359598A1 | EP3672235A1 | JP2012509639A | JP2014204964A | JP5587331B2 | JP5838230B2 | KR101685219B1 | KR1020110097861A | US20110193949A1 | US8558880 | WO2010059179A1
简单同族成员数量
19
简单同族被引用专利总数
110
诉讼案件数
0
法律状态/事件
授权
抱歉,您的浏览器不支持PDF预览,请点击链接下载PDF文件