专利数据库
统计分析
产业报告
专利数据监控
产业人才
行业动态
产业政策法规
维权援助
个人中心
详情
文本
图像
标题
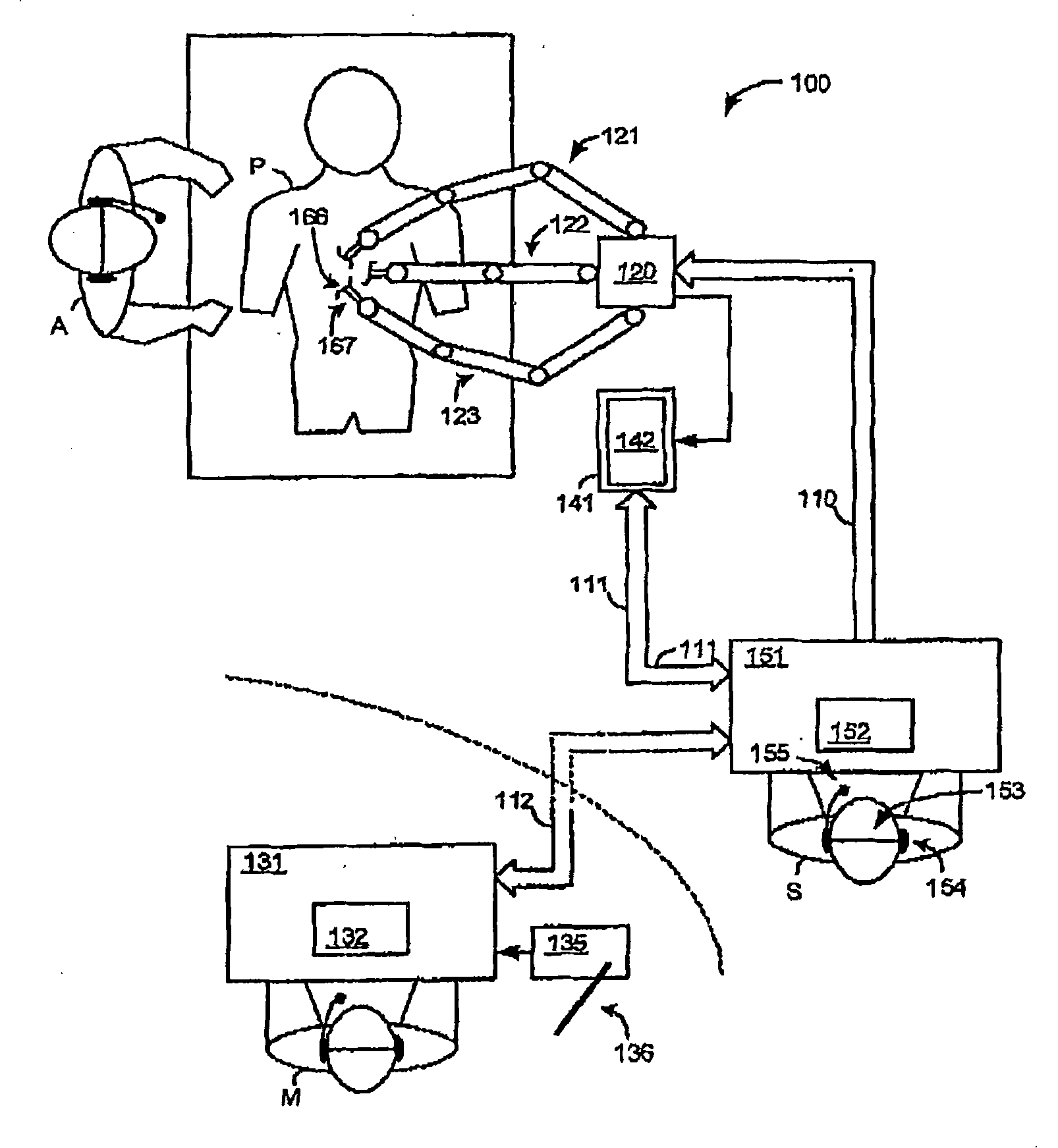
提供三维远程图解的医疗机器人系统
授权日
1900-01-01
公开(公告)号
CN102143706A
申请日
2006-12-20
公开(公告)日
2011-08-03
当前申请(专利权)人
直观外科手术操作公司
发明人
C·哈塞 | D·拉金 | B·米勒 | G·张 | W·诺兰
简单同族
CN102143706A | CN102143706B | DE102006059380A1 | EP1965699A2 | EP1965699A4 | EP1965699B1 | EP3107286A1 | EP3107286B1 | FR2898264A1 | JP2007181670A | JP5373263B2 | KR101407986B1 | KR1020080089376A | US20070167702A1 | WO2007120351A2 | WO2007120351A3
简单同族成员数量
16
简单同族被引用专利总数
140
诉讼案件数
0
法律状态/事件
授权
抱歉,您的浏览器不支持PDF预览,请点击链接下载PDF文件