专利数据库
统计分析
产业报告
专利数据监控
产业人才
行业动态
产业政策法规
维权援助
个人中心
详情
文本
图像
标题
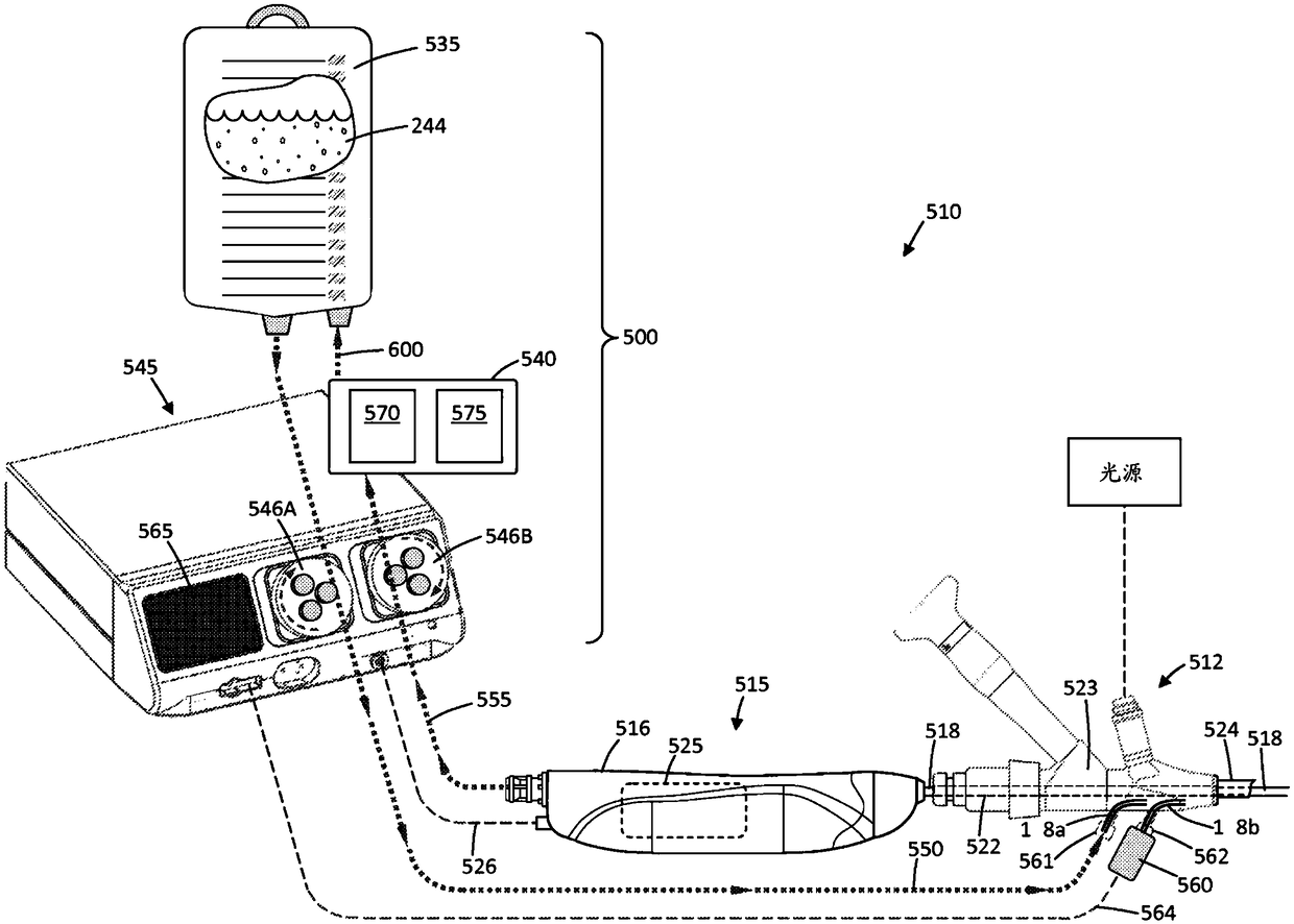
医疗系统与方法
授权日
1900-01-01
公开(公告)号
CN108720909A
申请日
2014-04-08
公开(公告)日
2018-11-02
当前申请(专利权)人
波士顿科学医学有限公司
发明人
亚伦·杰曼 | 凯尔·克莱因 | 迈克尔·D·沃克 | 罗宾·贝克
简单同族
CA2908862A1 | CA2908862C | CA3024440A1 | CN105377159A | CN105377159B | CN108720909A | EP2983600A1 | EP2983600A4 | EP2983600B1 | EP3375466A1 | EP3375466B1 | ES2677574T3 | JP2016515441A | JP2018140206A | JP2020078740A | JP6336040B2 | US20140303551A1 | US20180168667A1 | US9907563 | WO2014168985A1
简单同族成员数量
20
简单同族被引用专利总数
140
诉讼案件数
0
法律状态/事件
实质审查
抱歉,您的浏览器不支持PDF预览,请点击链接下载PDF文件