专利数据库
统计分析
产业报告
专利数据监控
产业人才
行业动态
产业政策法规
维权援助
个人中心
详情
文本
图像
标题
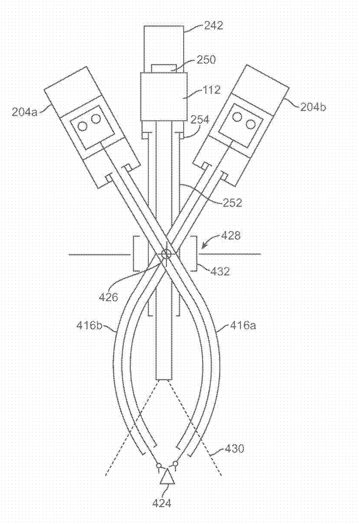
弯曲插管和自动操纵器
授权日
1900-01-01
公开(公告)号
CN102510740A
申请日
2010-08-27
公开(公告)日
2012-06-20
当前申请(专利权)人
直观外科手术操作公司
发明人
G·M·普里斯科 | S·K·W·奥 | C·R·杰尔比 | T·W·罗杰斯 | J·R·斯蒂格 | C·E·斯维尼哈特
简单同族
BR112012006641B1 | CN102510740A | CN102510740B | EP2480145A1 | EP2480145B1 | JP2013505106A | KR1020120089852A | US20110071541A1 | US20140005687A1 | US20140018823A1 | US20160128791A1 | US20180206927A1 | US9254178 | US9931173 | WO2011037718A1
简单同族成员数量
15
简单同族被引用专利总数
89
诉讼案件数
0
法律状态/事件
授权
抱歉,您的浏览器不支持PDF预览,请点击链接下载PDF文件