专利数据库
统计分析
产业报告
专利数据监控
产业人才
行业动态
产业政策法规
维权援助
个人中心
详情
文本
图像
标题
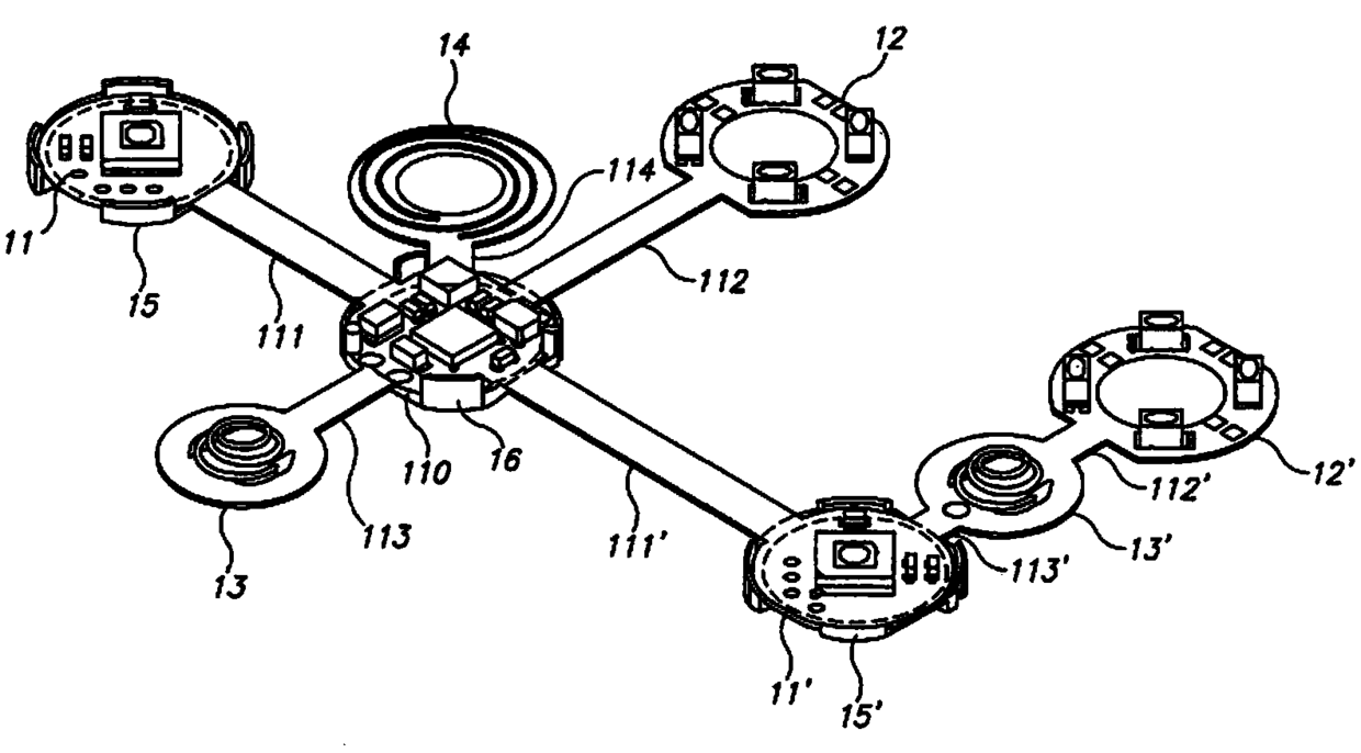
具有柔性电路板的体内感测装置及其组装方法
授权日
1900-01-01
公开(公告)号
CN104717835A
申请日
2010-06-20
公开(公告)日
2015-06-17
当前申请(专利权)人
基文影像公司
发明人
济卡·吉拉德 | 塞米翁·海特 | 陈·曼恩 | 南森·鲁宾
简单同族
CN102802499A | CN102802499B | CN104717835A | CN104717835B | DE112010002709T5 | US20100326703A1 | US20130296650A1 | US8516691 | US9078579 | WO2010150243A1 | WO2010150243A4
简单同族成员数量
11
简单同族被引用专利总数
75
诉讼案件数
0
法律状态/事件
授权
抱歉,您的浏览器不支持PDF预览,请点击链接下载PDF文件