专利数据库
统计分析
产业报告
专利数据监控
产业人才
行业动态
产业政策法规
维权援助
个人中心
详情
文本
图像
标题
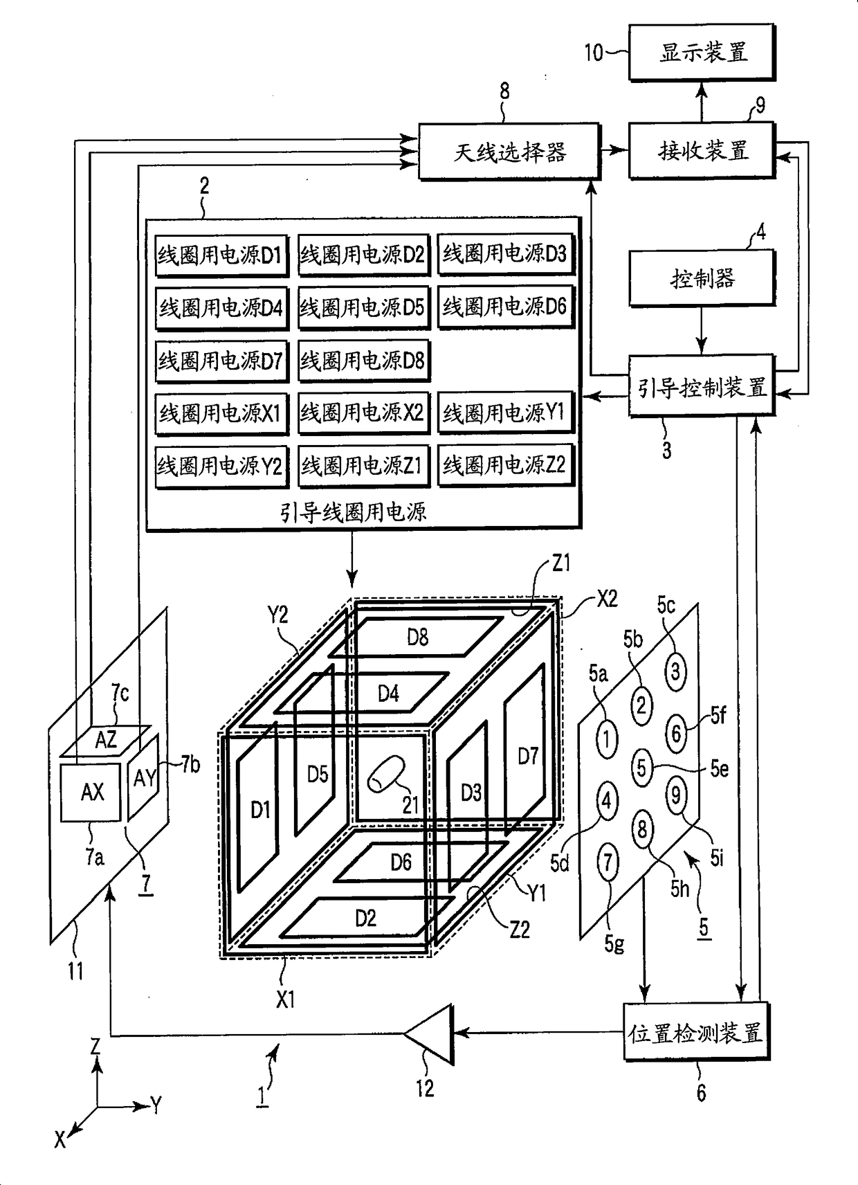
胶囊型医疗装置引导系统
授权日
2012-07-04
公开(公告)号
CN101351143B
申请日
2006-12-27
公开(公告)日
2012-07-04
当前申请(专利权)人
奥林巴斯株式会社
发明人
内山昭夫 | 木村敦志 | 青木勲
简单同族
CN101351141A | CN101351141B | CN101351143A | CN101351143B | CN102688014A | CN102688014B | EP1972253A1 | EP1972253A4 | EP1972255A1 | EP1972255A4 | EP1972255B1 | EP2335559A1 | EP2384687A1 | EP2384687B1 | JP4891924B2 | JP5042037B2 | JPWO2007074888A1 | JPWO2007077896A1 | JPWO2007077896A5 | US20080294006A1 | US20080306340A1 | US9039606 | WO2007074888A1 | WO2007077896A1
简单同族成员数量
24
简单同族被引用专利总数
129
诉讼案件数
0
法律状态/事件
未缴年费 | 权利转移
抱歉,您的浏览器不支持PDF预览,请点击链接下载PDF文件