专利数据库
统计分析
产业报告
专利数据监控
产业人才
行业动态
产业政策法规
维权援助
个人中心
详情
文本
图像
标题
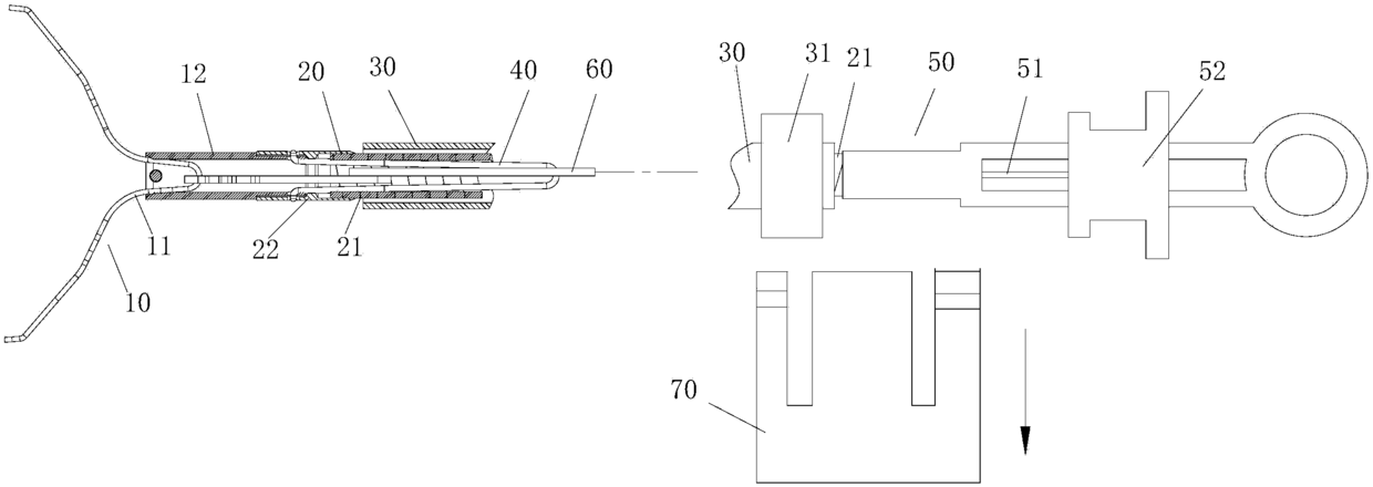
夹持结扎装置
授权日
2016-02-10
公开(公告)号
CN103930052B
申请日
2012-08-30
公开(公告)日
2016-02-10
当前申请(专利权)人
杭州安杰思医学科技股份有限公司
发明人
朱俭
简单同族
AU2012334534A1 | AU2012334663A1 | AU2012334663B2 | AU2012334663C1 | BR112014006488A2 | CN103930051A | CN103930051B | CN103930052A | CN103930052B | CN202960641U | EP2777548A1 | EP2777548A4 | EP2777548B1 | EP2777549A1 | EP2777549A4 | KR101554443B1 | KR1020140048304A | US20140171973A1 | US20140171974A1 | US9492176 | US9510836 | WO2013067662A1 | WO2013067844A1 | WO2013067974A1
简单同族成员数量
24
简单同族被引用专利总数
25
诉讼案件数
0
法律状态/事件
授权 | 权利转移
抱歉,您的浏览器不支持PDF预览,请点击链接下载PDF文件