专利数据库
统计分析
产业报告
专利数据监控
产业人才
行业动态
产业政策法规
维权援助
个人中心
详情
文本
图像
标题
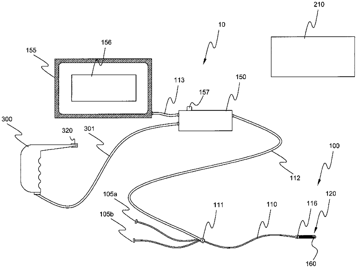
消融和温度测量设备
授权日
1900-01-01
公开(公告)号
CN103442631A
申请日
2011-11-22
公开(公告)日
2013-12-11
当前申请(专利权)人
SECURUS医药集团股份有限公司
发明人
J·克里斯多夫·弗莱厄蒂 | 约翰·T·加里波多 | R·玛克斯韦尔·弗莱厄蒂 | 威廉·J·戈尔曼
简单同族
AU2011332014A1 | AU2011332014B2 | CA2852637A1 | CA2852637C | CN103442631A | CN108714022A | EP2642913A2 | EP2642913A4 | HK1191838A | JP2014508547A | JP2014508547A5 | JP6126534B2 | US10070793 | US20140012155A1 | US20190082969A1 | WO2012071388A2 | WO2012071388A3
简单同族成员数量
17
简单同族被引用专利总数
147
诉讼案件数
0
法律状态/事件
驳回 | 复审
抱歉,您的浏览器不支持PDF预览,请点击链接下载PDF文件