专利数据库
统计分析
产业报告
专利数据监控
产业人才
行业动态
产业政策法规
维权援助
个人中心
详情
文本
图像
标题
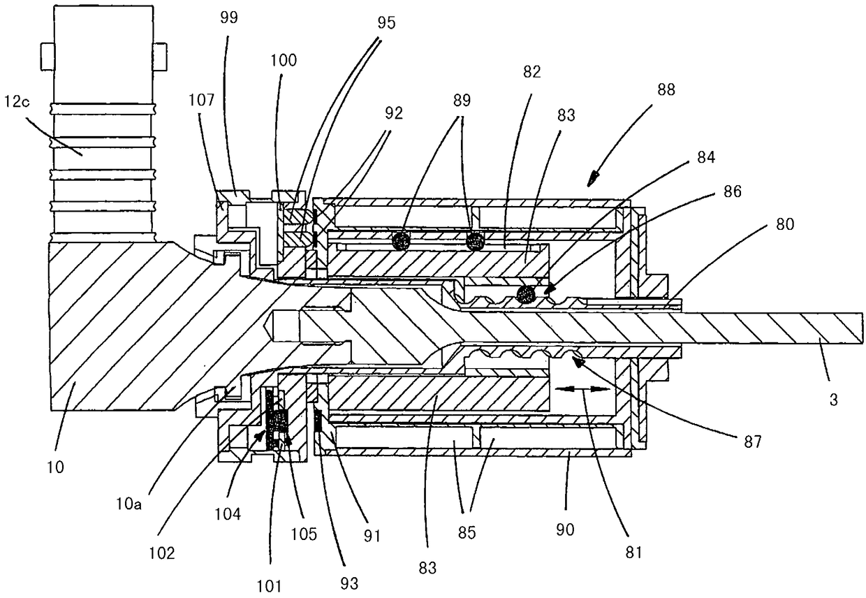
用于腹腔镜的和开放外科手术的人机功效学手持件
授权日
1900-01-01
公开(公告)号
CN103269649A
申请日
2011-10-24
公开(公告)日
2013-08-28
当前申请(专利权)人
SRA发展公司
发明人
M·J·R·扬 | C·J·利佛尔 | N·C·赖特 | P·J·曼利
简单同族
AU2011317397A1 | AU2016203294A1 | CN103269649A | CN103269649B | EP2629685A1 | EP2629685B1 | GB201017968D0 | GB201019794D0 | GB201020672D0 | GB201102034D0 | US20120101495A1 | US20160242753A1 | US9655601 | WO2012052729A1
简单同族成员数量
14
简单同族被引用专利总数
135
诉讼案件数
0
法律状态/事件
授权
抱歉,您的浏览器不支持PDF预览,请点击链接下载PDF文件