专利数据库
统计分析
产业报告
专利数据监控
产业人才
行业动态
产业政策法规
维权援助
个人中心
详情
文本
图像
标题
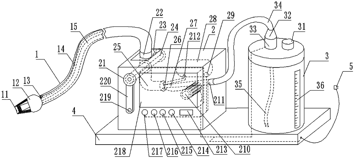
一种用于肠镜检查的多功能内窥装置
授权日
1900-01-01
公开(公告)号
CN108096657A
申请日
2017-12-04
公开(公告)日
2018-06-01
当前申请(专利权)人
李玉涛
发明人
楚善斌 | 杜晓川
简单同族
CN108096657A
简单同族成员数量
1
简单同族被引用专利总数
0
诉讼案件数
0
法律状态/事件
实质审查 | 权利转移
抱歉,您的浏览器不支持PDF预览,请点击链接下载PDF文件