专利数据库
统计分析
产业报告
专利数据监控
产业人才
行业动态
产业政策法规
维权援助
个人中心
详情
文本
图像
标题
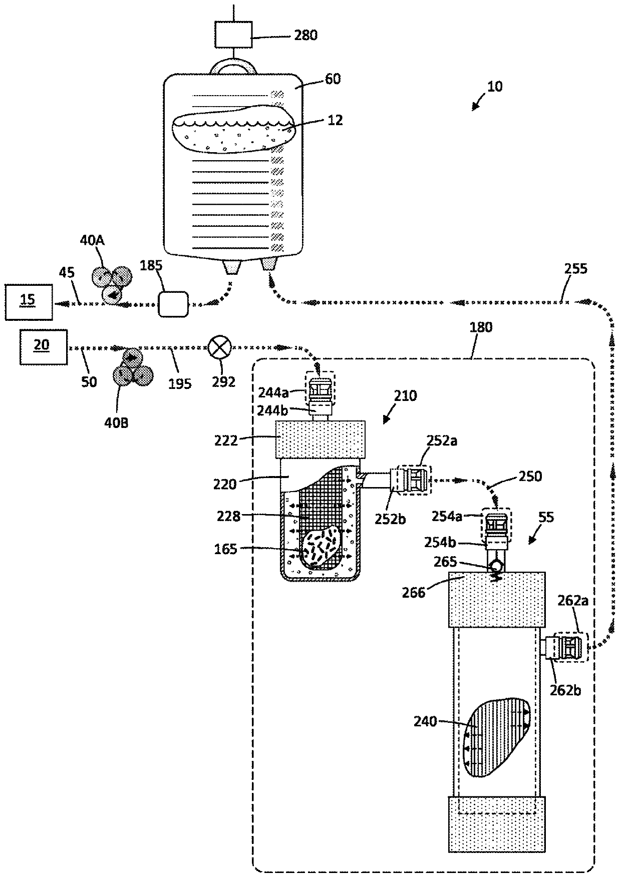
流体管理系统与方法
授权日
1900-01-01
公开(公告)号
CN109998639A
申请日
2014-10-27
公开(公告)日
2019-07-12
当前申请(专利权)人
波士顿科学医学有限公司
发明人
亚伦·杰曼 | 凯尔·克莱因
简单同族
CN105979891A | CN105979891B | CN109998639A | EP3062716A1 | EP3062716B1 | EP3260068A1 | EP3260068B1 | EP3510953A1 | JP2016540547A | JP2019034166A | JP2020014865A | JP6417414B2 | JP6588610B2 | US20150119795A1 | US20180193550A1 | US9943639 | WO2015065904A1
简单同族成员数量
17
简单同族被引用专利总数
39
诉讼案件数
0
法律状态/事件
实质审查
抱歉,您的浏览器不支持PDF预览,请点击链接下载PDF文件