专利数据库
统计分析
产业报告
专利数据监控
产业人才
行业动态
产业政策法规
维权援助
个人中心
详情
文本
图像
标题
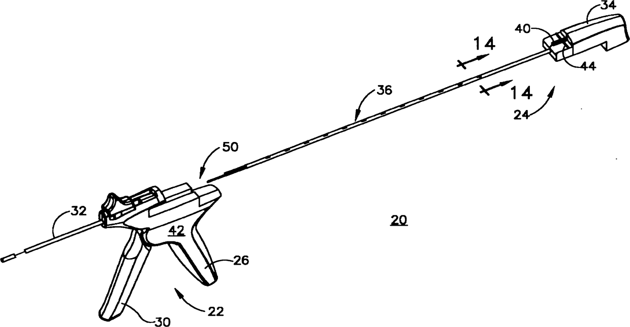
用于胃减容术的可重新装入的腹腔镜式紧固件配置装置的仓
授权日
1900-01-01
公开(公告)号
CN102137625A
申请日
2009-07-23
公开(公告)日
2011-07-27
当前申请(专利权)人
伊西康内外科公司
发明人
M·S·齐纳 | J·L·哈里斯 | M·J·斯托克斯 | M·D·霍尔库姆 | M·S·奥尔蒂斯 | L·克雷尼克 | A·P·康多尔
简单同族
BRPI0916861A2 | CA2731839A1 | CN102137625A | EP2320805A1 | JP2011528953A | RU2011106947A | US20100023022A1 | WO2010011829A1
简单同族成员数量
8
简单同族被引用专利总数
88
诉讼案件数
0
法律状态/事件
撤回
抱歉,您的浏览器不支持PDF预览,请点击链接下载PDF文件