专利数据库
统计分析
产业报告
专利数据监控
产业人才
行业动态
产业政策法规
维权援助
个人中心
详情
文本
图像
标题
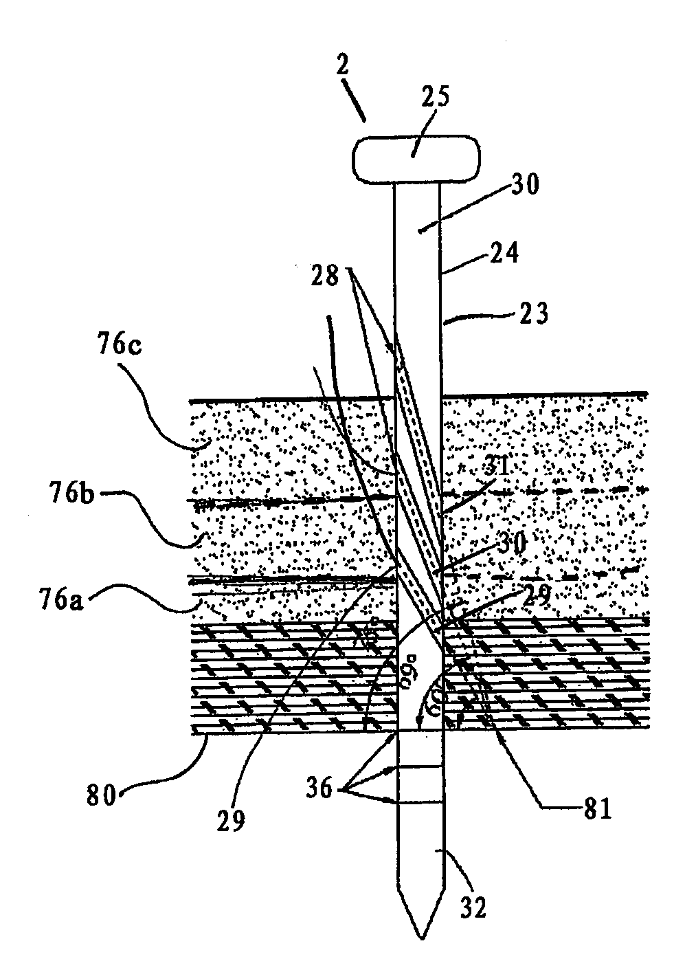
用于腹腔镜孔口部位缝合的装置
授权日
2014-03-12
公开(公告)号
CN102065776B
申请日
2009-07-02
公开(公告)日
2014-03-12
当前申请(专利权)人
A.H.比利私人有限公司
发明人
安东尼·休·比利
简单同族
AU2009266422A1 | CN102065776A | CN102065776B | EP2349021A1 | EP2349021A4 | GB201101800D0 | GB2474193A | GB2474193B | US20110112557A1 | WO2010000033A1
简单同族成员数量
10
简单同族被引用专利总数
51
诉讼案件数
0
法律状态/事件
授权
抱歉,您的浏览器不支持PDF预览,请点击链接下载PDF文件