专利数据库
统计分析
产业报告
专利数据监控
产业人才
行业动态
产业政策法规
维权援助
个人中心
详情
文本
图像
标题
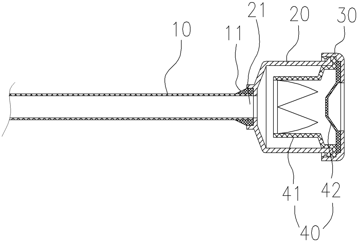
一种双镜联合保胆手术胆囊保护鞘
授权日
2016-08-17
公开(公告)号
CN205458825U
申请日
2016-02-25
公开(公告)日
2016-08-17
当前申请(专利权)人
广州医科大学附属第一医院 | 佛山特种医用导管有限责任公司
发明人
王平 | 何丽君
简单同族
CN205458825U
简单同族成员数量
1
简单同族被引用专利总数
0
诉讼案件数
0
法律状态/事件
未缴年费 | 权利转移
抱歉,您的浏览器不支持PDF预览,请点击链接下载PDF文件