专利数据库
统计分析
产业报告
专利数据监控
产业人才
行业动态
产业政策法规
维权援助
个人中心
详情
文本
图像
标题
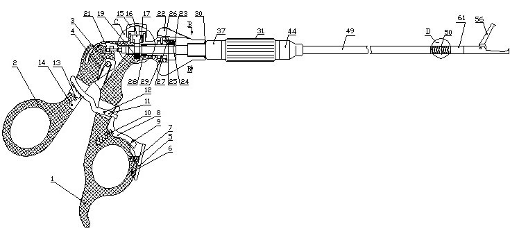
双向可弯形抓持钳
授权日
2011-12-14
公开(公告)号
CN202069651U
申请日
2010-12-30
公开(公告)日
2011-12-14
当前申请(专利权)人
钟鸣
发明人
钟鸣 | 申屠银光
简单同族
CN202069651U
简单同族成员数量
1
简单同族被引用专利总数
0
诉讼案件数
0
法律状态/事件
未缴年费
抱歉,您的浏览器不支持PDF预览,请点击链接下载PDF文件