专利数据库
统计分析
产业报告
专利数据监控
产业人才
行业动态
产业政策法规
维权援助
个人中心
详情
文本
图像
标题
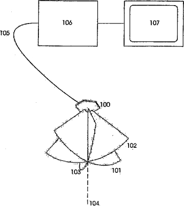
物体的多扫描平面超声成像
授权日
1900-01-01
公开(公告)号
CN1652723A
申请日
2003-03-13
公开(公告)日
2005-08-10
当前申请(专利权)人
比约恩·A·J·安杰尔森 | 通尼·F·约翰森
发明人
比约恩·A·J·安杰尔森 | 通尼·F·约翰森
简单同族
AT447889T | AU2003212721A1 | CN100569186C | CN1652723A | DE60329986D1 | EP1489972A1 | EP1489972B1 | EP1489972B2 | JP2005520592A | JP2005520592A5 | JP2010179117A | JP4584586B2 | JP5192508B2 | RU2004131526A | US20030216646A1 | US7758509 | WO2003077766A1
简单同族成员数量
17
简单同族被引用专利总数
89
诉讼案件数
0
法律状态/事件
未缴年费
抱歉,您的浏览器不支持PDF预览,请点击链接下载PDF文件