专利数据库
统计分析
产业报告
专利数据监控
产业人才
行业动态
产业政策法规
维权援助
个人中心
详情
文本
图像
标题
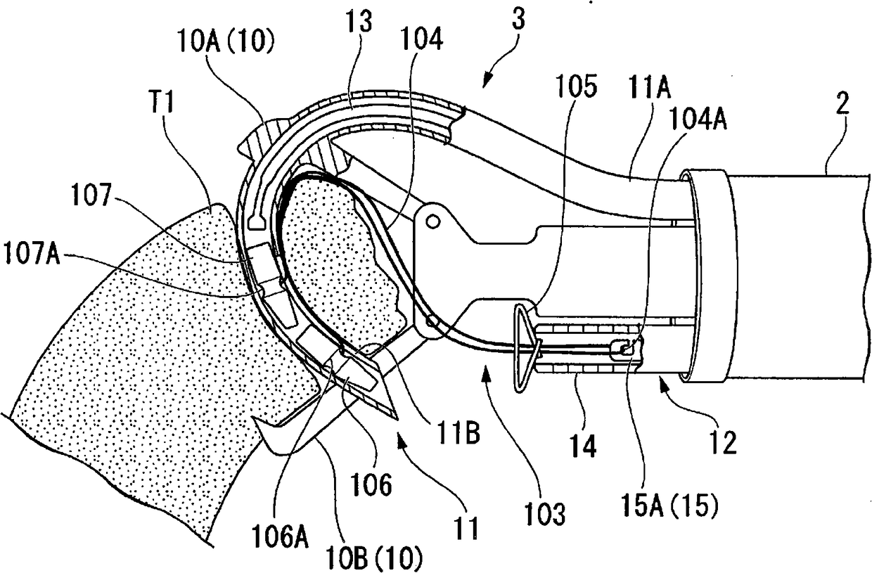
缝合器及缝合系统
授权日
1900-01-01
公开(公告)号
CN102164548A
申请日
2009-11-05
公开(公告)日
2011-08-24
当前申请(专利权)人
奥林巴斯医疗株式会社
发明人
铃木孝之 | 山本哲也 | 高桥慎治 | 铃木聪子 | 小贺坂高宏
简单同族
CN102164548A | EP2316346A1 | EP2316346A4 | EP2316346B1 | JP4624485B2 | JPWO2010053118A1 | US20100113873A1 | WO2010053118A1
简单同族成员数量
8
简单同族被引用专利总数
89
诉讼案件数
0
法律状态/事件
撤回
抱歉,您的浏览器不支持PDF预览,请点击链接下载PDF文件