专利数据库
统计分析
产业报告
专利数据监控
产业人才
行业动态
产业政策法规
维权援助
个人中心
详情
文本
图像
标题
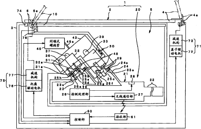
医疗器械洗涤消毒系统
授权日
2007-07-18
公开(公告)号
CN2922786Y
申请日
2006-07-13
公开(公告)日
2007-07-18
当前申请(专利权)人
奥林巴斯医疗株式会社
发明人
野口利昭 | 铃木英理
简单同族
CN100455254C | CN1895159A | CN2922786Y | EP1902670A1 | EP1902670A4 | JP2007020729A | KR1020080019288A | US20090217956A1 | WO2007007482A1
简单同族成员数量
9
简单同族被引用专利总数
54
诉讼案件数
0
法律状态/事件
避重授权
抱歉,您的浏览器不支持PDF预览,请点击链接下载PDF文件