专利数据库
统计分析
产业报告
专利数据监控
产业人才
行业动态
产业政策法规
维权援助
个人中心
详情
文本
图像
标题
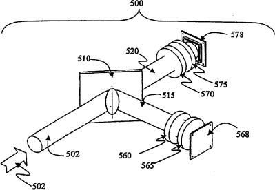
使用多激发-发射对和同时多信道图像检测进行荧光成像的方法和装置
授权日
1900-01-01
公开(公告)号
CN1802560A
申请日
2004-05-28
公开(公告)日
2006-07-12
当前申请(专利权)人
曾海山
发明人
曾海山
简单同族
CA2527205A1 | CN1802560A | CN1802560B | EP1636567A2 | JP2006526767A | US20040245350A1 | US7697975 | WO2004106896A2 | WO2004106896A3
简单同族成员数量
9
简单同族被引用专利总数
120
诉讼案件数
0
法律状态/事件
授权 | 权利转移
抱歉,您的浏览器不支持PDF预览,请点击链接下载PDF文件