专利数据库
统计分析
产业报告
专利数据监控
产业人才
行业动态
产业政策法规
维权援助
个人中心
详情
文本
图像
标题
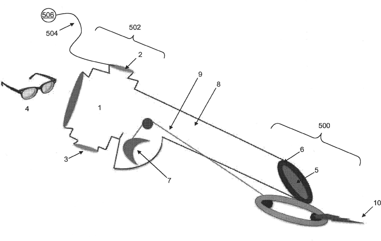
毛发修复手术
授权日
1900-01-01
公开(公告)号
CN102630150A
申请日
2010-09-17
公开(公告)日
2012-08-08
当前申请(专利权)人
卡洛斯·K·韦斯利
发明人
卡洛斯·K·韦斯利
简单同族
AU2010295447A1 | AU2010295447B2 | AU2010295447C1 | AU2014203223A1 | BR112012006157A2 | CA2774676A1 | CN102630150A | EP2477532A1 | IN2415DELNP2012A | JP2013505072A | JP2013505072A5 | JP5809148B2 | KR1020120081604A | NZ599122A | NZ599122B | US20120215231A1 | US9364252 | WO2011035125A1
简单同族成员数量
18
简单同族被引用专利总数
35
诉讼案件数
0
法律状态/事件
驳回
抱歉,您的浏览器不支持PDF预览,请点击链接下载PDF文件