专利数据库
统计分析
产业报告
专利数据监控
产业人才
行业动态
产业政策法规
维权援助
个人中心
详情
文本
图像
标题
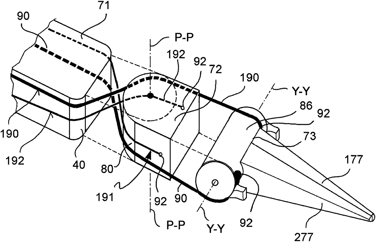
用于机器人手术的手术工具以及机器人手术组件
授权日
1900-01-01
公开(公告)号
CN108366837A
申请日
2016-10-14
公开(公告)日
2018-08-03
当前申请(专利权)人
医疗显微器具股份公司
发明人
马西米利亚诺·西米 | 朱塞佩·玛利亚·普里斯科
简单同族
AU2016337026A1 | AU2016337029A1 | BR112018007606A2 | BR112018007640A2 | CA3001934A1 | CA3001935A1 | CN108366837A | CN108366838A | EP3361980A1 | EP3361981A1 | ITUB2015005057A1 | JP2018534099A | JP2018534100A | KR1020180073608A | KR1020180074712A | US20180296285A1 | US20180303567A1 | WO2017064301A1 | WO2017064303A1
简单同族成员数量
19
简单同族被引用专利总数
29
诉讼案件数
0
法律状态/事件
实质审查
抱歉,您的浏览器不支持PDF预览,请点击链接下载PDF文件